One hundred years ago, the 21st February 1923 Albert Einstein arrived in Spain for a visit that began in Barcelona and continued for two weeks in Zaragoza and Madrid, concluding on 11th March 1923. The Spanish media are devoting attention to commemorate this anniversary and I would like to remember that visit, but highlighting Einstein’s relationship with the world of patents, which was very close.
When the visit took place, in 1923, Albert was already a world celebrity. His theory of general relativity had been published in 1915 and he had won the Nobel Prize in 1922, especially for his explanation of the photoelectric effect. As historian Thomas F. Glick states in the prologue to the second edition of his landmark book “Einstein and the Spanish. Science and Society in Interwar Spain”, “when Einstein arrived in Spain in 1923 he was already a mythical figure, the symbol of science itself”.

Photograph on the investiture as doctor “honoris causa” of Albert Einstein by the Universidad Central de Madrid (1923), Source: Marques de Valdecilla Historical Library
According to the various chronicles, the visit could be described as surrealist, focusing on folklore and relegating science, as his proposals were very advanced for the time and very difficult to understand. Throughout his visit, he was acclaimed the same way a pop star would be today. In Madrid, a chestnut seller shouted as he passed by: “Long live the inventor of the automobile”, as Thomas Glick wrote in his book. The same book also contains various cartoons inspired by Einstein’s visit, one of which depicts the complexity that Einstein’s theories represented for the Spaniards of 100 years ago:


At the end of his visit and during a conference at the Madrid Athenaeum, the marine biologist Odón de Buen offered him the leadership of a Spanish-Mexican expedition organised to observe the solar eclipse that was to take place on 10th September 1923 in Mexico, but he very politely declined the invitation.
Even though his visits did not include the Industrial Property Registry, then located in the “Palacio de Fomento” (Madrid), it would not have been out of place, given its close relationship with patents.

Palacio de Fomento (Madrid) at the end of the 19th century (Source: https://edicioneslalibreria.com/la-foto-de-la-semana-palacio-de-fomento/ )
Albert’s father, Hermann Einstein, was an engineer and worked in the industrial sector in Ulm, Germany, where he ran a small water and gas installation company with his brother Jakob. In 1880 the family moved to Munich where they set up an electrochemical factory called “Elektrotechnische Fabrik J. Einstein and Cie” which manufactured dynamos, arc lamps, and measuring equipment. The switch from direct current to alternating current saw the decline of the business, which moved to Pavia (Italy) in 1894, where it also failed and eventually closed.

Advertising for Albert Einstein’s father’s and uncle’s company
His uncle Jakob is listed as inventor on a number of patents on inventions related to his business, one in Switzerland CH2131A and 6 in Germany: DE41824, DE53207C, DE53546C, DE53846C, DE60361C, DE74429. Presumably, therefore, Albert Einstein was already aware of the existence and importance of patents in his childhood and adolescence.
Albert Einstein had studied at the Federal Technical School in Zurich from 1896 to 1900 and qualified as a teacher of mathematics and science. He worked as a private tutor and his next encounter with patents came in 1902 when, thanks to the influence of a fellow student’s father, he obtained a position as a “technical expert third class” at the Swiss Patent Office in Bern. In 1904, he completed his probationary period and obtained a permanent position. It is said that the “probationary” period was prolonged because his boss felt that he needed to become more acquainted with mechanical engineering in order to get a permanent post. In 1906, he was promoted to “technical expert second class”. In both jobs, he examined the patentability of inventions that were the subject of patent applications.
The website of the Swiss Federal Institute of Intellectual Property (IGE/IPI) contains a list of patents that Albert Einstein probably examined. These include a gravel sorter, a weather station, an electric typewriter and an alternating current motor. The variety of technical fields to which the inventions belong indicates that as a patent examiner he was not very specialised and had to assess inventions belonging to a wide variety of technological fields, as is still the case today in many Patent Offices, with the exception of those known as IP5, where the examiners are highly specialised. Also found in the documentation provided by the IGE/IPI are objections to one of the patent applications, which could have been drafted by Albert Einstein.
His work at the Patent Office provided him with financial stability, which enabled him to marry his fellow student Mileva Marić. He was also a genius in the use of time. It is said, that he was able to complete his work at the Patent Office in four hours. He would spend the rest of the day on multiple activities, such as writing his doctoral thesis, playing the violin and above all on research in the field of physics. He had to spend eight hours a day at the Patent Office and part of this time, once the patent examination was over, was devoted to writing up his theories on small pieces of paper that he camouflaged among the patent documentation.

The year 1905 can be considered the most fertile of his life, for in addition to completing his doctoral thesis, which was initially rejected, he published four articles of great significance for physics:
- On a heuristic viewpoint concerning the production and transformation of light. Annalen der Physik 17 /1905) 132-148. In which he proposed the idea of the quantum of energy and explained the photoelectric effect.
- On the movement of small particles suspended in stationary liquids required by the molecular theory of heat, Annalen der Physik 17 (1905) 549-560. His first paper on the Brownian motion.
- On the electrodynamics of moving bodies, Annalen der Physik 17 (1905) 891-921. His first paper on special relativity
- Does the inertia of a body depend upon its energy content?” annalen der Physik 17 (1905) 639-641. His second paper on the theory of relativity, where the formula E=mc2 was formulated.
He also reported years later having the happiest thought of his life in 1907 while sitting in his chair at the Patent Office in Bern, which was that “for an observer in free fall from the roof of a house there is no gravitational field”. In 1909, he left his job at the Patent Office and became a professor of theoretical physics at the University of Zurich.

Albert Einstein (chosen by TIME magazine as “person of the 20th century“) has undoubtedly been the most famous patent examiner to date, although he was perhaps not the best patent examiner, as the German Patent Office, DPMA, hints, given the large number of activities with which he combined his examination work. Later statements by Albert Einstein show that he had fond memories of his years in Bern and at the Patent Office, which he once referred to as “that mundane cloister in which I conceived my most beautiful ideas”.
Despite leaving the Patent Office, Einstein kept in touch with patents, and in fact took part as a court-appointed expert in a series of patent infringement lawsuits involving inventions relating to gyrocompasses. The first case in which he participated involved the German inventor and entrepreneur Hermann Anschütz-Kaempfe and the American Ambrose Sperry. As part of the normal duties of an expert witness, Einstein had to write technical reports, inspect products and testify in court. The main lawsuit was won by the German company in the wartime context of the First World War. He was also involved in two subsequent lawsuits concerning gyrocompasses, in which the Anschütz-Kaempfe company sued other companies for infringement of its patents.
Hermann Anschütz-Kaempfe and Albert Einstein developed a friendship and in this letter, Hermann informs Albert about the development of one of the lawsuits and about improvements in his gyrocompasses. Einstein was fond of sailing and, as the following photograph shows, sometimes went sailing with Hermann Anschütz-kaempfe.

To complete his career in the world of patents, Albert Einstein is also listed as an inventor on a number of patents, granted in Germany, Switzerland, Austria, France, Great Britain, Hungary and the United States. Most of them related to the refrigeration sector:

In the 1920s, domestic refrigeration was only slowly being introduced in Europe. Toxic refrigerants such as ammonia, sulphur dioxide or methyl chloride were being used, resulting in accidents involving poisoning due to refrigerant leaks. This led Einstein and his student at the University of Zurich, the Hungarian Leo Szilard, to develop their inventions on refrigeration. The trigger may have been an accident in Berlin in which a whole family died because of a refrigerant leak.
Einstein and Szilard invented a refrigerator and various improvements in order to eliminate the use of toxic refrigerants, moving parts and the mechanical compressor. Their main invention was the absorption refrigerator (US1781541). Butane was used as a refrigerant and by introducing ammonia, the pressure of the butane was reduced and it boiled, absorbing energy and cooling. The US patent was acquired by the Swedish company Electrolux, but it was never commercialised as new, highly efficient and non-toxic refrigerants such as chlorofluorocarbon gases appeared.

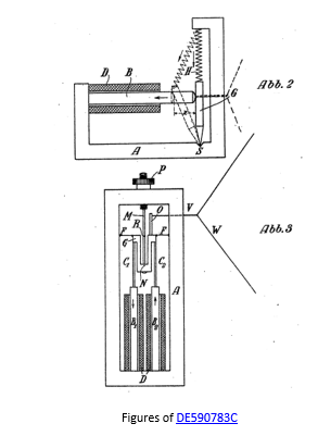
Albert Einstein also collaborated with the engineer and prolific German inventor Rudolf Goldschmidt, conceiving the invention protected by German patent DE590783C published on 01.10.1934. It was a hearing aid. Olga Eisner, a singer of Einstein’s acquaintance, was losing her hearing, and Einstein asked Goldschmidt to help him develop a new type of hearing aid, based on magnetostriction, whereby sound was transformed into vibrations that were transmitted to the skull. However, when Hitler came to power in Germany at that time, the two inventors had to go into exile and the project was abandoned and was not commercialised.

Surprisingly, Albert Einstein is also listed as an inventor on a US design patent USD101756 for a type of shirt, in which side openings are used to insert the arms.
CONCLUSIONS
The centenary of Einstein’s visit to Spain, where he was received as the celebrity he was, has been as an excuse to review Einstein’s relationship with the world of patents, which, as the reader will have observed, was very close. Some speculate as to whether his work as a patent examiner would have instilled in him the inventiveness necessary to develop his theories of physics, but from the documentation reviewed it would appear that his period as an examiner actually provided him with the time and financial stability necessary to “think”. Regardless, it is difficult to find a person who in his lifetime has been a patent examiner, a court-appointed patent expert, and inventor and patent applicant. Those of us who work in the examination of patent applications cannot help but be proud of the fact that the quintessential “genius” practiced our profession.
Leopoldo Belda Soriano