As we are approaching Easter, a period of great importance for Christians all over the world, it is a good time to devote a post to the relationship between patents and religion. I will do so with the utmost respect for all the religions mentioned.
One might ask: What does the religion have to do with patents? Of course, dealing with the protection of religions by patent is by no means the purpose of this post. That is not allowed by patent laws. For example, the European Patent Convention (Art. 52.2) establishes:
The following in particular shall not be regarded as inventions within the meaning of paragraph 1:
(c) schemes, rules and methods for performing mental acts, playing games or doing business, and programs for computers;
It seems the patent system is compatible with the three main monotheistic religions: Christianity, Judaism and Islam. The compatibility between Christianism and Patents seems to be confirmed by the fact that the first patent laws arose in countries with a Christian tradition. Likewise, most States with Islamic tradition do have patent laws and since neither the Quran nor the Sunnah refer to patents, they are considered to be admitted by Islam. Judaism is compatible with the patent system as well, according to this webpage kept by someone who claims to be a patent attorney and a Torah observant Jew.
In September 2014 the US magazine “Mother Jones” published and article entitled “Study: Science and Religion Really Are Enemies After All” which claims that religious countries and the most devout US States produce fewer patents per capita.
It seems that Intellectual property would be the most appropriate approach for the protection of the principles, and rules of a “religion” and some of their distinctive signs could be protected by trademarks. For example, The “Church of Scientology International “ has protected some of its distinctive signs as trademarks and some of its works with copyright.


4219970000095 (KOREA) and
3965790 (USA)
The relationship between religion and inventions comes from rites. Below, I respectfully show some patents that protect inventions which take part in some of the well- known rites of several religions. Christmas is set aside, because it would need an entire entry, given the large number of Christmas-related inventions.
Devotional prayer counting device
The patent US2971819 refers to a devotional prayer counting device adapted to be attached to the steering wheel of an automobile. Consequently, the driver can say his prayers from the Rosary without removing his hands from the steering wheel.
Offering plate accepting credit card, debit card and envelope donations.
This patent document WO9507512 describes some of the problems faced by people attending mass who want to donate money to the Church: Those who do not have change to donate the desired amount might have to forgo a donation. The problem is solved by being able to pay by credit card.
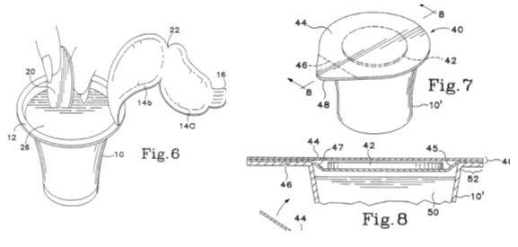
Apparatus for supplying wine and a wafer (Communion)
Patent US5584388 defines a container intended to simplify and accelerate the administration of Communion during mass. It consists of a small receptacle containing wine and a wafer packed in the lid. It is particularly convenient for battlefield services.
The processional floats (los pasos procesionales)
Easter week processions are a very important component of the Catholic ceremony in some Spanish regions. However, It is not unusual for Easter week to be rainy in Spain. If it happens to rain, the procession is usually cancelled out of fear of the floats being damaged by rain. The Spanish utility model ES1078520U refers to a float protector designed to allow processions even if it is raining.
Within the sphere of the Holy or Easter week other Spanish inventions have to do with the huge effort “costaleros” (porters that can be likened to pallbearers ) must make in order to carry the processional floats. The Spanish document ES2319712 protects a “device to help supporting the poles of the processional floats on the costaleros’ shoulders”. The device consists of a small cushion provided with inflating means which is fixed to the lower face of the pole, on which the weight of the float rests.
The Shabbat
The Shabbat is a festive and resting day for followers of Judaism. Observant orthodox and conservative Jews refrain from performing the activities classified in 39 prohibited categories. It is the practice of Orthodox Jews that no “creative work” can be done on the Sabbath. For example, it is forbidden to turn on or off a household cooking appliance, such as an oven. In the past, the problems associated with these laws could be solved by merely lighting a stove or oven before the Jewish Holiday began, and using the heat over the course of the day. The invention defined in the patent application US2014196711 is a control system where a timer is programmed to provide for a plurality of activations and a plurality of deactivations of the heater element in accordance with a predetermined schedule during a predetermined period of time that is longer than the Jewish Holiday period of time. Thus, the user does not have to turn on or off the oven during the Shabbat, complying with the religious law since the entire process is performed automatically, following a pre-programmed sequence.
Hanukkah
In the Jewish Hanukkah, also known as the Festival of Lights, a candelabrum with nine branches called a menorah (o hanukkiah) is lit and there are numerous inventions around it. Patent application US6491516 defines a “menorah” for children. The purpose is to make the festivity more attractive for them.
The prayer mat
The Salah is one of the five pillars in the faith of Islam and an obligatory religious duty for every Muslim. It must be observed five times everyday.
When Muslims pray, they must face Mecca. In this ritual, the worshiper starts standing, bows, prostrates himself, and concludes while sitting on the ground. During each posture, the worshiper recites or reads certain verses, phrases and prayers. Sajdah is an Arabic word meaning prostration to God in the direction of the Kaaba at Mecca which is usually done during the daily prayers . Depending on the moment of the day and other factors, the number of times the forehead and nose must be placed on the prayer mat varies. Patent GB2263003 refers to a
prayer mat comprising an electrical circuit including solar means for supplying power to the circuit, and a counter for counting the number of times the worshipper touches the mat with the forehead. Other mats, like the one protected by FR2999402 , include a compass that shows the correct direction to Mecca.
Hinduism is a religion quite unknown in the Western world. However, everybody is acquainted with the fact that cows are venerated by Hindus. Urine from cows is used for therapeutic purposes in ancient Ayurvedic medicine . Patent US7718360 discloses a composition for protecting and/or repairing DNA from oxidative damages comprising redistilled cow’s urine distillate (RCUD) . The description states that cow’s urine is extensively used in Ayurveda for purifying certain materials which otherwise possess toxic properties . It also says that the literature and scripture do not mention urine or its distillate as a protector of cells from DNA damage and chromosomal aberration.

It is doubtful whether spiritism can be considered a religion, but patents have also been granted on spiritism-related inventions. The Ouija, that board that is used for communicating with spirits, was patented. The patent US446054 was granted in 1891. The applicant was Elijah Bond who was not particularly interested in spiritism but in making money out of the Ouija. In order for the patent to be granted, the USPTO (US Patent and Trademark Office) needed evidence that the board actually worked. It is said that a patent office official tested the efficacy of the Ouija board by asking it to accurately spell out his name, which was supposedly unknown to Bond or his sister-in-law, who had accompanied him to the demonstration. Since, the name was properly spelled out, the patent was granted. Any how, the patent was entitled “toy or game” and in the description there was no reference to its use for communicating with spirits.

Conclusion
My aim was to show that inventions in all kinds of technology, all aspects of life can be patented. Even religion, so closely related to the spiritual world is a field where inventions can arise and be patented.
Leopoldo Belda-Soriano
Proofread by Ben Rodway







