El pasado siglo, allá por 1999, cuando MARCHAMOS, la Revista de comunicación interna de la OEPM (Oficina Española de Patentes y Marcas) comenzó a elaborarse, también se inició la sección fija que he venido realizando dedicada a “patentes curiosas”, donde se incluyen patentes que llamaron mi atención por diversos motivos, aunque fundamentalmente porque me arrancaron una sonrisa. Algunas las encontré yo durante mi trabajo como examinador de patentes durante más de 10 años, otras me las facilitaron algunos de los examinadores de patentes de la OEPM y otras las obtuve gracias a otros compañeros del mundo de las patentes, los cuales las publicitaron en Internet.
Last Century, in 1999, at the same time MARCHAMOS (the internal communication magazine of the OEPM/SPTO (Spanish Patent and Trademark Office) ) was launched, also began a fixed section devoted to “curious patents”, where patents that drew my attention because of various reasons but above all because they made me smile, were included. Some of them were found by myself during my years as a patent examiner, others were delivered by other patent examiners from the SPTO and others were found in Internet thanks to other patent colleagues who posted them .
Aquí va toda la colección, que he intentado agrupar por temas, en la medida de lo posible, aunque sea complicado, dada la diversidad de asuntos a los que se refieren:
Here you have the whole collection which I have tried to sort out depending on the subject, though it hasn’t been easy, given the wide variety of topics they refer to. It has not been translated into English, but by clicking on the patent number you will gain access either to the abstract and drawings in English or to the whole document in English.
SALUD/HEALTH
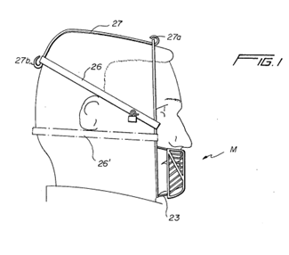
Título: Máscara para no comer
Nº de Patente: US4344424
Fecha de publicación: 17/08/1998
Problema planteado: La obesidad es un problema al que se enfrenta un número creciente de personas. El factor determinante de ese sobrepeso es en la mayoría de las ocasiones la sobrealimentación. La tentación está siempre presente. Numerosas personas carecen de la fuerza de voluntad necesaria para resistir esa tentación y ello lleva en ocasiones a un consumo compulsivo de alimentos. En ciertas profesiones como cocineros, camareros y demás empleados de restaurantes, la tentación es incluso más fuerte aún pues los alimentos se encuentran al alcance de la mano sin prácticamente coste alguno. Los cocineros y otras personas que cocina habitualmente se ven obligadas a probar los platos que están preparando, lo que estimula continuamente el apetito, favoreciendo la ingestión de grandes cantidades de alimentos.
Solución propuesta: Se trata de una idea muy simple. No hay mejor modo de evitar la ingestión de alimentos que impedir su entrada en el aparato digestivo. Ello se consigue mediante una máscara que cubre la boca, aunque no impide la respiración ni la comunicación. Esta sencilla invención se puede emplear también en hospitales para impedir la ingestión de alimentos durante las horas previas a una operación o como medida para evitar el consumo de cigarrillos durante los procedimientos de deshabituación del tabaquismo
Descripción de la invención: La máscara (M) consiste en un elemento en forma de copa que se ajusta a la parte del rostro del usuario situada debajo de la nariz. Este elemento se fabrica a partir de alambres o varillas que rodean la boca y barbilla del usuario, impidiendo la entrada de alimentos pero permitiendo la respiración y el habla. La máscara se fija al cráneo del usuario mediante las varillas (23, 27), los ganchos (27a, 27b) y la correa (26). También se puede añadir un candado que impida la extracción de la máscara.

Título: Aparato para ejercitar los dientes y las encías
Nº de Patente: US1466559
Fecha de publicación: 28/08/1923
Problema planteado: En los años 20 se pensaba que las caries, las mandíbulas poco desarrolladas, las encías débiles y numerosas alteraciones de la cavidad bucal estaban provocadas por los métodos modernos de preparación de los alimentos los cuales no favorecían una adecuada masticación.
Solución propuesta: Para evitar todas esas enfermedades nada mejor que proporcionar a dichos órganos el ejercicio apropiado. Para ello propone el inventor un aparato gimnástico de aplicación a la boca.
Descripción de la invención: El aparato consiste en un elemento (5) adaptado para ser introducido en la boca, con los huecos necesarios en la parte superior e inferior para alojar los dicentes. Del extremo frontal sobresale un anillo (7) al cual se fija un cable flexible (8) que termina en un muelle, el cual se puede fijar a una pared. Una vez fijado el cable (8) a la pared y el elemento (5) firmemente sujeto por los dicentes, el usuario acercará y alejará sucesivamente la cabeza de la pared, proporcionando de esta manera a los distintos órganos y músculos de la boca de un ejercicio muy sano. Existe una variante de la invención que, como se observa en la figura, está diseñada para ser empleada por parejas.

Título: Aparato dental para odontología pediátrica
Nº de Patente: US4826432
Fecha de publicación: 02/05/1989
Problema planteado: Uno de los principales problemas con los que se encuentra la odontología pediátrica es el hecho de que tanto los instrumentos empleados por los dentistas como la atmósfera reinante en la consulta contribuyen a crear un sentimiento de miedo y angustia en el niño que dificultan la obtención de resultados positivos en el tratamiento.
Solución propuesta: Con el fin de superar el problema expuesto el inventor propone la utilización de un aparato dental que muestra a los niños de una manera atractiva todos los instrumentos dentales, y posee una serie de dispositivos de juego que desvían la atención del niño durante y después del tratamiento.
Descripción de la invención: La invención consiste en un aparato (1) que tiene la forma de un robot humanoide en el que se distinguen tres partes: la cabeza (25), el tronco y la base (20) que descansa sobre unas ruedas, de las cuales dos están accionadas por un motor eléctrico. El aspecto del aparato atrae de forma instantánea la atención de los niños sometidos a tratamiento, y para ello cuenta con un casco verde transparente, una nariz que es una bombilla eléctrica que se enciende de forma intermitente, unos ojos que también son bombillas eléctricas y un reproductor de cassettes instalado en la espalda del robot y que emite sonidos a través de un altavoz situado en la boca del robot. El aparato se situará en la sala de espera y cuenta con un receptor de señales de voz moduladas que permite al dentista conversar con el niño antes de que se produzca el primer contacto visual. El dentista también puede activar a distancia las distintas luces y sonidos. Asimismo el aparato sirve de soporte a diversos instrumentos médico-dentales entre los que se encuentran un micromotor de rotación lenta, una turbina de rotación rápida, y una jeringuilla para agua o aire.

Título: Aparato para estimular el crecimiento del pelo
Nº de Patente: WO9324099
Fecha de publicación: 09/12/1993
Problema planteado: En este caso se trata de un asunto estético que afecta a la mayoría de los hombres: la pérdida de cabello.
Solución propuesta: La invención consiste en un método destinado a estimular el crecimiento del cabello mediante un aumento del flujo sanguíneo en el cuero cabelludo. Ello se consigue mediante el empleo de champús especialmente diseñados, la ingestión de frutas, verduras y ensaladas, la práctica de ejercicios de relajación, y el empleo de un aparato que permite que el usuario se sitúe en posición invertid y que se describe detalladamente en el siguiente apartado.
Descripción de la invención: El aparato que permite la posición del usuario en posición invertida consiste en una estructura de soporte con dos secciones en forma de U (2 y 6) y que se encuentran conectadas en ángulo. Sobre esta estructura se apoya un tablero (1) de soporte de la espalda del usuario y que se prolonga en un elemento tubular (16) sobre el que se sitúan unos elementos (3) de retención de los pies. Para su empleo, el usuario apoya su espalda sobre el tablero, sujeta sus pies en (3) y tras agarrar sus manos en las extensiones (4) mediante un pequeño impulso se sitúa en posición invertida, logrando de esa manera un aumento del flujo sanguíneo en el cuero cabelludo lo cual favorecerá sin duda el crecimiento del cabello.

Título: Aparato para aumentar la actividad cerebral
Nº de Patente: EP061843
Fecha de publicación: 01/10/1982
Problema planteado: En este caso no se puede hablar de un problema sino de la necesidad de lograr un mayor rendimiento intelectual en ciertas ocasiones, por ejemplo, durante el estudio, exámenes o en la ejecución de ciertos trabajos que requieren una concentración máxima
Solución propuesta: El inventor presenta un aparato que se basa en el descubrimiento de que la actividad cerebral aumenta si se enfría la cabeza y se calientan los pues. Pero para que se logre ese resultado es preciso que el enfriamiento y calentamiento se produzcan simultáneamente, lo cual se consigue con la invención objeto de la patente.
Descripción de la invención: El aparato objeto de la invención consiste en una silla (10) con un soporte para los pies del usuario. En el respaldo de la silla se encuentra alojado un compresor (11). El compresor (11) está conectado mediante la tubería (16) con un condensador (12) situado en el soporte de los pies. Mediante la tubería (15) se conecta el compresor con un evaporador (14) de forma cilíndrica en el que se aloja la cabeza del usuario. El condensador (12) provocará un calentamiento de los pies y el evaporador (14) un enfriamiento de la cabeza.

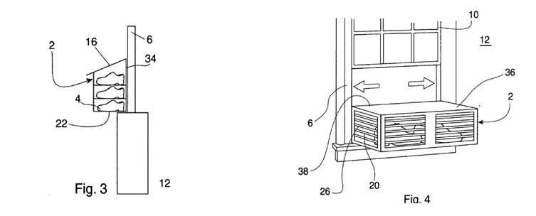
Nº de Patente: US3216423
Fecha de publicación: 09/11/1965
Problema planteado: Los inventores afirman que durante el parto es necesario que la madre ejerza una fuerza considerable para expulsar al recién nacido, venciendo la fricción con las paredes del útero y de la vagina y la oposición que ejerce la presión atmosférica. En el caso de aquellas mujeres con una musculatura convenientemente desarrollada, la propia naturaleza permite un parto rápido y sin mayores complicaciones. Sin embargo, es creciente el número de mujeres que carecen de un sistema muscular lo suficientemente desarrollado para vencer las fuerzas que se oponen a la salida del recién nacido.
Solución propuesta: La invención consiste en un aparato que aprovecha la fuerza centrífuga para facilitar la salida del bebé.
Descripción de la invención: La máquina objeto de la invención consiste en una plataforma en la cual penetra un eje accionado por un motor. La plataforma, alargada y en forma de camilla, posee una almohada (55) sobre la cual se apoya la cabeza de la madre. La almohada está situada en el centro de rotación de la máquina. Sobre el vientre se sitúa un elemento de fijación, que tiene como objeto evitar que el feto tenga un movimiento radial y garantiza que todo su movimiento esté dirigido a abandonar el cuerpo materno por su canal natural. Para evitar que el recién nacido salga disparado se dispone de una red protectora (88) alrededor de la pelvis. El recién nacido, al entrar en contacto con la red, acciona una palanca e interrumpe un circuito eléctrico provocando la parada del motor. Cuando los médicos que atienden a la futura madre deciden que ha llegado el momento oportuno, la madre se sitúa sobre la plataforma y se la asegura convenientemente. El técnico sanitario acciona el motor y la plataforma comienza a girar. La fuerza centrífuga irá aumentando hasta que ésta alcance una magnitud suficiente que permita al feto vencer las fuerzas que se oponen a su salida al exterior. El recién nacido acciona al salir el mecanismo antes descrito y el motor se detiene, dejando de rotar la plataforma. Quizás un nacimiento de esta índole sea un punto positivo en el currículum de todo aspirante a astronauta.

Título: Red neonatal
Nº de Patente: US4963138
Fecha de publicación: 16/01/1990
Problema planteado: En las salas de parto siempre se plantea el problema de que el recién nacido se encuentra cubierto de fluidos y por tanto existe el riesgo de que al intentar agarrarlo los médicos o trabajadores sanitarios, resbale y caiga al suelo.
Solución propuesta: La invención consiste en una red que se extiende entre la mesa de parto y el médico, recogiendo al bebé en el caso en que se resbalara de sus manos.
Descripción de la invención: Se trata de una red (1) con unos elementos de conexión (3, 4) que se fijan a la mesa de parto (7) y al médico (6). La fijación al medico puede realizarse mediante unas cintas que rodean su cintura, como en la figura, o mediante unos elementos de velcro.

Título: Bebida “sana” para ver la televisión
Nº de Patente: CN 1097108 A
Fecha de publicación: 11.01.1995
Problema planteado: El inventor habla de unas extrañas enfermedades provocadas por la visión de la televisión, entre las que menciona el “ojo de televisión”, la “pierna de televisión” y el “síndrome de la televisión”.
Solución propuesta: Para prevenir y curar dichas enfermedades el inventor propone el consumo de una bebida que consiste en una mezcla de zumo de sésamo, limón, crisantemo, manzana y otros ingredientes, conteniendo varias vitaminas, proteínas, grasas, aceites volátiles, taninos, y caroteno.
TÍTULO: Composición para proteger y/o reparar el ADN de daños provocados por la oxidación
Nº DE PATENTE: US7718360
En la medicina tradicional india (Ayurveda), se afirma que la orina de la vaca tiene propiedades curativas y forma parte de una preparación utilizada con fines medicinales llamada Panchagavya, la cual está constituida por 5 componentes, 3 de los cuales proceden directamente de la vaca: excremento, orina y leche. En la patente US2004198769, el inventor afirma que el destilado de orina de vaca tiene efectos protectores para las células frente al daño genético y la aberración cromosómica.

TÍTULO: Sistema que proporciona información sobre nutrición.
Nº DE PATENTE: WO2014085764
Problema planteado: Gran número de consumidores desconocen los valores nutricionales de los distintos alimentos. Ello dificulta el seguimiento de diversas dietas, ya sea para perder peso o por motivos de salud como diabetes, hipertensión, celíacos, etc.
Solución propuesta: La invención es un dispositivo en forma de gafas que mediante una serie de sensores identifica el alimento que se encuentra delante del usuario, proporcionando información nutricional sobre los alimentos y sobre su conveniencia para el usuario.

TÍTULO: Pijama anti-ronquidos
Nº DE PATENTE: FR2959117
Problema planteado: En la descripción de la patente se afirma que más del 40% de los adultos de más de 50 años roncan.
Solución propuesta: Se propone un pijama que en la espalda cuenta con un bolsillo que se cierra mediante velcro y en cuyo interior se sitúa una pelota pequeña. De ese modo cuando el usuario se coloque de espaldas, posición que favorece los ronquidos, la molestia que la pelota produce obligará al usuario a situarse de lado, reduciendo así la posibilidad de que se emitan esos molestos sonidos, todo ello en beneficio del compañero de lecho.

TÍTULO: Dispositivo anti ronquidos eléctrico
Nº DE PATENTE: US3480010
Problema planteado: Por segunda vez consecutiva traemos a esta sección una invención cuyo objetivo es la eliminación de los ronquidos. Según plantea el inventor, existía la necesidad de contar con un dispositivo de tamaño reducido que permitiera interrumpir los ronquidos del usuario pero sin molestar al compañero/a de cama.
Solución propuesta: Se trata de una banda que se dispone alrededor del cuello y que cuenta con un micrófono que detecta el ronquido y activa un relé que, a su vez, produce una descarga eléctrica que despertará al usuario, interrumpiendo el molesto ruido.

Título: Implante subcutáneo programable
Nº de Patente: US 5638832
Fecha de publicación: 17.06.1997
Problema planteado: Estamos viviendo unos años en los que el tatuaje se ha convertido en un complemento más de moda. Ha dejado de ser un elemento decorativo carcelario o marginal para pasar a ser utilizado por personajes famosos. Sin embargo, su principal problema lo constituye su dificultad de modificación y/o eliminación.
Solución propuesta: El inventor propone la utilización de un implante subcutáneo visible a través de la piel y en el que se puedan programar distintos diseños.
Descripción de la invención: El implante subcutáneo incluye un módulo de control (12) programable que genera una señal visual que aparece en el elemento de display (14). Tanto el módulo de control (12) como el display (14) se encuentran a una profundidad muy escasa, de modo que la imagen sea perfectamente distinguible desde el exterior. Además el display (14) posee un emisor de luz. El programador (32), que permite modificar el diseño a exhibir, se comunica con el módulo de control por medios ópticos, acústicos o inductivos.


MUNDO ANIMAL/ ANIMAL WORLD
Título: Trampa para pájaro y dispensador de alimentos para gatos
Nº de Patente: US4150505
Fecha de publicación: 24/07/1979
Problema planteado: El inventor considera un grave problema la proliferación de los gorriones comunes, los cuales están reemplazando a otras variedades más populares como el canario, ruiseñor, golondrina, etc. que son más vistosos y emiten sonidos más agradables. Asimismo, un excesivo número de gorriones provoca molestias al vecindario debido a sus excrementos y a la construcción de nidos.
Solución propuesta: El inventor trata de dar respuesta al problema planteado mediante una trampa autolimpiable que atrapa gorriones de forma continua y se los suministra a la población felina del barrio.
Descripción de la invención: La trampa dispone de unos orificios de entrada (30) bajo los cuales se encuentran unos barrotes (32). El pájaro penetra a través de uno de esos orificios (30) en el receptáculo (14) enfrente de una ventana de vidrio (36) que permite una vista diáfana del exterior. El pájaro emprende el vuelo para tratar de huir a través de la ventana (36) con lo que el balancín (152) recupera su posición inicial impidiendo la salida del pájaro a través de ls orificios (30) de entrada. La única vía de escape ahora es a través del tubo inferior (18) que desemboca en la jaula (12) alimentadora de gatos. El pájaro llega nervioso a la jaula (12) y saca su cabeza a través de las aberturas de la malla metálica. El aleteo del gorrión alerta a uno de los gatos del vecindario, que con su garra lo extrae y lo devora sin dejar apenas restos dentro de la trampa.

Título: Aparato para rascar y acariciar a perros
Nº de Patente: US 4872422 A
Fecha de publicación: 10/10/1989
Problema planteado: Desde que el hombre domesticó al lobo y apareció el perro, la humanidad ha mantenido una relación simbiótica muy especial con estos animales. Parte fundamental de esta relación son las caricias que el hombre proporciona al perro. Sin embargo, en estos tiempos son escasos los momentos que muchas personas pueden pasar con su mascota y durante las largas horas de soledad nuestro fiel compañero puede llegar a extrañar esas caricias, con la consiguiente repercusión en su salud y estado de ánimo.
Solución propuesta: El inventor pretende solucionar este problema mediante un artefacto que simula las caricias proporcionadas por un ser humano. Dicho artefacto se puede utilizar tanto con perros de cualquier tamaño como con gatos.
Descripción de la invención: La invención consiste en una estructura (10) con un brazo pivotante (11) que tiene en sus extremo un elemento para acariciar (12). La forma de la estructura (10) permite su instalación sobre una esquina. Mediante el elemento (21) se puede regular la altura a la que se encuentra el brazo y de ese modo ajustarlo a las dimensiones del perro (61). El dispositivo también consta de un sensor (60) que al detectar la presencia de un perro, activará un motor (49) que mediante un mecanismo de engranajes y un soporte flexible (41) proporcionará un movimiento ascendente y descendente del brazo (11) simulando la caricia de una mano sobre la mascota.

Título: Escalera para arañas
Nº de Patente: GB 2272154
Fecha de publicación: 11.05.1994
Problema planteado: Son numerosas las arañas que quedan atrapadas en el interior de bañeras o lavabos. Las empinadas paredes y los suaves contornos de sus bases impiden la salida a estos artrópodos.
Solución propuesta: El inventor propone la utilización de una escalera de material flexible que se sujeta mediante adhesivo a las paredes de la bañera o del lavabo y permite que la araña escale la pared con mayor facilidad.
Descripción de la invención: La escalerase sujeta al borde superior del lavabo o bañera mediante una ventosa (5). A continuación se deja caer de manera que se pegue a la pared. La mayor anchura de la base (1) facilita el que sea encontrada por la araña atrapada. Posee escalones interiores (2) y exteriores (3).

Título: Método y aparato para hacer que una mascota parezca estar hablando
Nº de Patente: US6178923
Fecha de publicación: 30.01.2001
Problema planteado: La imagen de un animal que habla es recurrente en el mundo fantástico y en el imaginario infantil. Un dispositivo que haga que un animal parezca estar hablando proporcionará momentos de gran diversión.
Solución propuesta: Propone la utilización de una memoria en la que se guardan diversos mensajes pregrabados y un altavoz que se ubica en algún lugar del cuerpo del animal. El usuario emitirá los mensajes que desee en el momento oportuno.
Descripción de la invención: En el asa (55) de la correa se incluye un panel de control (60)con una memoria capaz de grabar mensajes, una batería, control de volumen y medios de selección del mensaje, que será emitido a través de un altavoz (30) ubicado en el collar.

Título: Dispositivo para el baño de mascotas
Nº de Patente: US5765507
Fecha de publicación: 16.06.1998
Problema planteado: Es de sobra conocida la dificultad que entraña el baño de algunos animales domésticos, en especial de los gatos. La resistencia suele ser numantina, con los consiguientes arañazos y salpicaduras de agua y jabón
Solución propuesta: Se propone la utilización de un recipiente, que permanece tapado durante el baño, con la excepción de dos orificios.
Descripción de la invención: Se trata de un contenedor (10), con un cuerpo en forma de balde (12) y una tapa (14). La tapa (14) se sujeta al cuerpo (12) mediante unos elementos de conexión rápida (16, 18, 20, 22). La tapa presenta dos orificios circulares (26, 24) de distinto tamaño. Para introducir al animal (28) en el contenedor (10), se procede a hacer pasar su cabeza por el orificio de tamaño más adecuado (24), rápidamente se le introduce en el contenedor ya lleno de agua con jabón y se activan los elementos de fijación (16, 18, 20, 22). Por el otro orificio (26), la persona que proporciona el baño introduce la mano para frotar al animal.

Título: Camisa protectora contra la picadura de mosquitos.
Nº de Patente: ES1061132U
Fecha de publicación: 01.01.2006
Problema planteado: Son ampliamente conocidas las consecuencias de la picadura de mosquito, que van desde dolor localizado, enrojecimiento, hinchazón o picazón hasta la transmisión de graves enfermedades en otras latitudes, tales como la malaria, el dengue o la fiebre amarilla.
Solución propuesta: El inventor propone, para evitar la picadura de los mosquitos, la utilización de una camisa fabricada en una tela que impida que la trompa del mosquito llegue a la piel del usuario.
Descripción de la invención: La camisa se confecciona en tela de tul (1) transpirable, constituida por una malla de configuración preferentemente octogonal, acartonada, dotada de rigidez y una consistencia que da lugar a la aparición de zonas plegadas de cierta rigidez, normalmente separadas del cuerpo que determinan la existencia de un colchón de aire (2) respecto al cuerpo del usuario que evita que la trompa del mosquito alcance su piel.

Título: Dispositivo para ahuyentar roedores
Nº de Patente: US 883611
Fecha de publicación: 31.03.1908
Problema planteado: Son ampliamente conocidos los problemas que acarrea la presencia de estos animales en nuestro hogar o alrededores, que van desde lo desagradable de su visión hasta la transmisión de enfermedades y pérdidas materiales.
Solución propuesta: A diferencia de lo que sucede habitualmente en estos casos, la trampa no tiene como objetivo el eliminar al incauto roedor que cae en la misma, sino que lo transforma en un mensajero que ahuyentará a sus congéneres.
Descripción de la invención: El dispositivo consta de una entrada en forma de túnel que soporta un muelle (H) del cual cuelga un cascabel (h). Cuando el roedor tratar de atrapar el cebo (r), se dispara un mecanismo que hace que las paredes del túnel de entrada se separen y el muelle rodee el cuello de la víctima. Ahora el roedor huirá despavorido hacia su guarida, causando el pánico entre sus compañeros, que huirán del lugar en un santiamén.

Título: Malla retráctil anti-escape de mascotas
Nº de Patente: US20050173078
Fecha de publicación: 11.08.2005
Problema planteado: El inventor plantea el problema que supone la curiosidad de las mascotas, normalmente perros o gatos, que les lleva a explorar el mundo exterior en cuanto surge la oportunidad. Un mundo exterior lleno de peligros, especialmente en las grandes ciudades para las pequeñas mascotas. Uno de esos momentos en que pueden encontrar una oportunidad para abandonar la vivienda es cuando se abre la puerta principal.
Solución propuesta: El inventor propone la utilización de una barrera de malla (12), que en condiciones normales permanece enrollada en la parte inferior de la puerta (10) y que cuando ésta se abre, se despliega y se sujeta en unos ganchos (38) fijados al marco (3) de la puerta impidiendo la salida al exterior de la mascota (P).

TÍTULO: Casco que permite alimentar y observar a pájaros.
Nº DE PATENTE: US5996127
Problema planteado: Para la observación de la belleza del vuelo de ciertos pájaros, en especial de los colibríes, es necesario situarse a escasa distancia de los mismos, lo cual resulta muy complicado.
Solución propuesta: El inventor propone la utilización de un casco que lleva incorporados a escasa distancia del rostro del usuario unos comederos en los que se depositan jugos azucarados, gracias a los cuales será posible observar a escasa distancia el vuelo de los colibríes mientras liban.

TÍTULO: Dispositivo para avisar a los pájaros de la presencia de un gato
Nº DE PATENTE: US5952925
Problema planteado: La presencia de un gato siempre resulta un peligro para los pájaros de la vecindad, ya que incluso aunque se trate de gatos domésticos bien alimentados por su dueño, su instinto les impulsa a capturarlos.
Solución propuesta: El inventor propone un dispositivo emisor de sonidos de alta frecuencia, sólo audibles por los pájaros, que se acoplará al felino mediante un collar. Así, los pájaros estarán avisados de la presencia de un peligro en las proximidades.

TÍTULO: Dispositivo emergente para ahuyentar osos
Nº DE PATENTE: US2005028720
Problema planteado: En ciertos países como Canadá y los Estados Unidos la población de osos es tan numerosa que no es raro que los excursionistas se topen con alguno durante sus paseos, encuentros que pueden tener consecuencias fatales, especialmente si se trata de una osa acompañada de oseznos.
Solución propuesta: Se propone que el excursionista porte una mochila que en su interior alojará una figura inflable plegada. Cuando el paseante se encuentre con el oso, tirará de una cuerda que a su vez disparará un contenedor de gas a presión que inflará a gran velocidad la figura, la cual saldrá de la mochila. Preferiblemente, la figura será de gran tamaño y tendrá un rostro similar al de un oso, con grandes ojos y mostrando los dientes. Ante el susto, con casi total probabilidad el oso huirá.

TÍTULO: Sistema de gafas de sol para mascotas
Nº DE PATENTE: US5868104
Problema planteado: Afirma el inventor que existe una necesidad de proporcionar lentes de sol a las mascotas, especialmente los perros, para evitar esencialmente la aparición de cataratas. Solución propuesta: Las invención presenta unas características que facilitan su acoplamiento a distintos tipos de mascotas y una cinta posterior para evitar su caída.

TÍTULO: Proceso para la utilización de las emisiones de metano de los rumiantes.
Nº DE PATENTE: US6982161
Problema planteado: Es conocido que las emisiones de metano de los animales rumiantes, particularmente del ganado vacuno, suponen el 20% del total de las emisiones de metano. Asimismo, el metano supone el 20% de las emisiones que contribuyen al calentamiento global.
Solución propuesta: El 95% de las emisiones de metano de estos animales se expulsa mediante exhalación. El inventor propone un dispositivo que se montará sobre el lomo del animal mediante una serie de correas. Las emisiones de metano se transmitirán mediante unas tuberías hacia el dispositivo, que posee en su interior de microorganismos que se alimentan del metano, generando una biomasa que puede ser utilizada para la obtención de alimentos, adhesivos o cosméticos.

TÍTULO: Trampa para animales de madriguera
Nº DE PATENTE: US269766
Problema planteado: Es bien sabido la existencia de animales que excavan sus madrigueras y que causan grandes daños a las cosechas, además de propagar numerosas enfermedades
Solución propuesta: Se trata de un dispositivo donde el gatillo de un revolver cargado y listo para disparar se conecta a una palanca, que accionara el animal al salir de la madriguera haciendo que la bala lo fulmine. Sin embargo, el inventor también sugiere que el invento podría acoplarse a puertas y ventanas con el fin de actuar sobre posibles intrusos que en este caso serían humanos.

TÍTULO: Prenda para la exhibición de mascotas
Nº DE PATENTE: US5901666
Problema planteado: A diferencia de lo que ocurre con algunas mascotas, principalmente los perros, en el caso de animales de menor tamaño resulta muy complicado mostrarlas en el exterior de las viviendas o “pasearlas” sin asumir grandes riesgos.
Solución propuesta: El inventor ha diseñado una prenda que lleva en su interior una serie de túneles y compartimentos cubiertos por un material transparente. Mientras la persona que viste la prenda pasea podrá llevar consigo a sus pequeñas mascotas (principalmente roedores) y mostrarlas al resto de los viandantes.

Título: Mantel electrificado
Nº de Patente: US5107620
Problema planteado: Durante las comidas campestres son numerosos los insectos que intentan acceder a los alimentos para apropiarse de los mismos, con las consiguientes molestias para aquellos que no pretenden otra cosa que disfrutar de la naturaleza.
Solución propuesta: Para evitar que los insectos accedan a los alimentos, el inventor propone la utilización de un mantel cuyos bordes estarán recorridos por un par de tiras de material conductor (18,19) conectadas a los polos de una batería de bajo voltaje (20). Cuando cualquier insecto intente atravesar estas dos tiras para aproximarse a la comida depositada sobre el mantel en la zona rodeada por las tiras conductoras, cerrará el circuito recibiendo una descarga que lo disuadirá de seguir avanzando.

Título: Cama-regazo para mascotas
Nº de Patente: US8181599
Fecha de publicación: 22/05/2012
Problema planteado: Según afirma el inventor, son muchas las mascotas que tienen la costumbre de descansar sobre el regazo del dueño mientras éste lee o mira la televisión. El animal se siente totalmente seguro al percibir el olor de alguno de los humanos de la casa. Sin embargo, como es de suponer, ese “humano” debe abandonar el domicilio y a veces por varias horas.
Solución propuesta: Para que, durante esa ausencia del hogar, la pequeña mascota se sienta segura y cómoda, el inventor ha ideado una estructura con cojines, sobre la que sitúa una prenda del “humano”, preferentemente una camisa. De ese modo, incluso en ausencia de su dueño, la pequeña mascota podrá descansar sobre su regazo.

PELUQUERÍA / HAIRDRESSING
Título: Secador de pelo portátil y “manos libres”.
Nº de Patente: US 6052915 A
Fecha de publicación: 25.04.2000
Problema planteado: Los secadores de pelo conocidos en la actualidad impiden la libertad de movimientos y la realización de otras actividades. El secador de uso doméstico debe ser sostenido mediante una mano y el secador que se emplea en las peluquerías obliga al usuario a permanecer sentado durante el secado de su cabello.
Solución propuesta: El inventor propone la utilización de un secador portátil que no requiere la utilización de ninguna de las manos.
Descripción de la invención: El secador portátil consta de un gorro flexible (11), una manguera tubular y flexible (8) que conecta el gorro con una carcasa de forma cúbica (20) que aloja en su interior unos elementos de calefacción, un ventilador y una batería recargable. La carcasa (20) se sujeta a la cintura del usuario mediante un cinturón (36).

TÍTULO: Método para esconder una calvicie parcial.
Nº PATENTE: US4022227
Fecha de publicación: 10/05/1997
En EE.UU, donde está permitida la protección mediante patente de “métodos intelectuales”, se publicó esta solicitud de patente relativa a un procedimiento destinado a cubrir una gran calva con los cabellos laterales

Título: Dispositivo para cortar el pelo.
Nº de patente: US1329437
La invención tiene como objeto cortar el pelo a los niños según el procedimiento denominado”bobbing” o “bob cut”, que podría traducirse al castellano como el “corte a tazón”, es decir, cubrir la cabeza con dicho utensilio para cortar los flecos sin ocuparse de las raíces.

Título: Almohada para rulos
Nº de Patente: US3319272
Problema planteado: Ciertas mujeres recurren a la utilización de los denominados rulos, con el fin de proporcionar a sus cabellos una apariencia ondulada. Los rulos deben permanecer durante un período prolongado de tiempo, con el fin de que se forme el rizo. Dado que la apariencia con los rulos puestos no es demasiado favorecedora, estos rulos se suelen aplicar durante la noche, y es entonces cuando surge el problema ya que dificultan el sueño, al “clavarse” en la cabeza y muchos de ellos acaban desprendiéndose.
Solución propuesta: El inventor propone la utilización de almohadas provistas de ranuras, que permitirán el alojamiento de los rulos, evitando que dificulten el sueño de la usuaria y su desprendimiento.

Título: Peluca mejorada
Nº de patente: US1604087
Problema planteado: El cabello natural sufre ciertos movimientos relacionados con el estado emocional, son conocidos los denominados “pelos de punta” provocados por situaciones de pánico o sorpresa. Sin embargo, esos movimientos en los cabellos no son posibles en las pelucas, con lo cual su utilización no pasará inadvertida para un observador atento.
Solución propuesta: El inventor propone la incorporación a las pelucas tradicionales de un mecanismo manual que permite el insuflado de aire y el consiguiente erizado de los cabellos cuando las circunstancias así lo aconsejen.

TÍTULO: Máquina para el corte de pelo automático con medios de control que permiten programar la máquina para que el corte se realice según un determinado estilo.
Nº DE PATENTE: US3241562
Problema planteado: En la memoria descriptiva el inventor no menciona qué problema pretende resolver su invención, pero parece obvio que una peluquería sin empleados sería bastante rentable.
Solución propuesta: Nada mejor que utilizar una serie de máquinas, en las cuales además es posible programar la ejecución de un corte de pelo según un determinado estilo. Aunque después de leer la complejidad de la máquina, la verdad es que habría que ser muy valiente para probarla……

La técnica del peinado de Trump ¿patentada?
Indudablemente, la noticia internacional más destacada de este último cuatrimestre del año ha sido la elección de Donald Trump como nuevo presidente de los EE.UU.
El aspecto más relevante de la imagen de Donald Trump está constituido por su peculiar peinado y sus cabellos, bastante poblados para un varón con 70 años de edad.
A lo largo de toda la campaña electoral, han sido numerosas las especulaciones sobre qué hay detrás de tan espectacular pelambrera. Una de las últimas teorías es que periódicamente se aplica un tratamiento que está patentado por un profesional que curiosamente tenía una de sus clínicas en la torre del señor Trump, aunque también extrañamente la invención no se encuentra patentada en los EE.UU.
El método implica la utilización de cabellos propios y de donantes, así como la utilización de unos micro-cilindros huecos de altura variable, según el resultado que se desee obtener. Los cabellos se van agrupando en mechas mediante la utilización de los citados micro-cilindros.
Sin embargo, otros expertos en peluquería afirman que el peinado de Trump no es otra cosa que una versión sofisticada y con mucha laca, de lo que en inglés se conoce como “comb-over” y en España se denomina estilo “Anasagasti”. Esta técnica peluquera también fue objeto de una patente anterior, que ya apareció en esta sección de la revista en el número 39.

NIÑOS Y BEBÉS /BABIES AND CHILDREN
Título: Detector de Santa Claus
Nº de Patente: US5523741
Fecha de publicación: 04/06/1996
Problema planteado: Dentro del folklore de los países occidentales está fuertemente implantada la figura de Santa Claus, Papá Noel o el bien los tres Reyes Magos, todos los cuales recompensan con regalos en Navidad a los niños que se han portado correctamente con durante el año anterior. Sin embargo es cada vez más difícil conseguir que los niños crean estos cuentos. Cuentan con variadas fuentes de información y desconfían de esas historias a edades cada vez más tempranas.
Solución propuesta: Mediante su invención el autor facilita a los padres un medio mediante el cual pueden proporcionar a sus hijos una prueba inequívoca de que en efecto ha sido Papá Noel quien ha dejado los regalos Descripción de la invención: La invención consiste en un calcetín con medios de iluminación que pueden ser accionados para señalizar la llegada de Santa Claus. El calcetín (10) posee una parte inferior (11) en la cual se pueden introducir pequeños regalos o golosinas, varias fuentes luminosas (18), una batería (20) y un interruptor (30) que cierra un circuito eléctrico (17, 19).El calcetín (10) se sitúa por ejemplo en una esquina de la chimenea y, tras colocar los regalos, se acciona el interruptor (30) encendiéndose los elementos luminosos (18) que serán prueba visible de que Santa Claus estuvo allí y activó el detector.

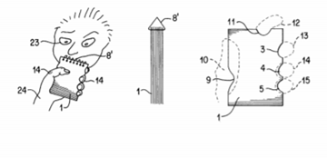
Título: Cuchara parlante.
Nº de Patente: WO0217762
Fecha de publicación: 07.03.2002
Problema planteado: Como todos los padres y madres sabrán, alimentar a un niño no es nada sencillo. En numerosas ocasiones la boca del infante se cierra herméticamente ante la cercanía de una amenazadora cuchara de papilla. Es entonces cuando el progenitor tiene que echar mano de todo tipo de tretas y actuaciones circenses con el objetivo de que la infranqueable barrera ceda, aunque sólo sea por un instante.
Solución propuesta: Ante la dificultad de la tarea antes descrita, el inventor propone la utilización de una cuchara con la capacidad de emitir sonidos, que capturará la atención del niño, facilitando de ese modo la introducción de la cuchara en la boca del distraído bebé.
Descripción de la invención: La cuchara (10) consta de un mango (12) y una parte cóncava (14) en el otro extremo. En el extremo superior del mango (12) hay una figura (16), que en este caso representa un vaquero. El interior de dicha figura (16) alberga una batería (22) que se aísla del exterior herméticamente. La parte inferior del mango (12) posee unos contactos (30) que se cerrarán al sumergirse en la papilla o la leche, provocando que un altavoz emita unos sonidos grabados en un chip de memoria. Los sonidos emitidos estarán en concordancia con el personaje representado en el mango de la cuchara.

Título: Soporte manos libres para biberones
Nº de Patente: ES 2153779 A
Fecha de publicación: 01.03.2001
Problema planteado: Los niños de pocos meses necesitan una atención prácticamente continua durante todo el día, ya que son muchas las tareas necesarias para su cuidado. Entre esas tareas se encuentra el darles el biberón cada pocas horas, en caso de que no sea posible la lactancia materna. Esta problemática se ve acentuada en los hogares donde nacen en los mismos partos mellizos, trillizos e incluso más niños. Los padres o enfermeras tienen que emplear largas sesiones hasta que el niño finaliza la toma del biberón, restándole tiempo para atender otras labores.
Solución propuesta: La inventora propone la utilización de un dispositivo que sujeta el biberón, permitiendo que los padres o el personal sanitario puedan alejarse del bebé, para realizar otras tareas.
Descripción de la invención: La invención consiste enun flexo (3) que se instala mediante rosca en un bastidor (1). El flexo (3) dispone de una pinza (4) que incorpora brazos (6) actuables mediante el roscado de las ruedas (5), de modo que puede agarrar el biberón cualquiera que sea su diámetro.

Título: Dispositivo de detección y alerta del estado físico de bebés
Nº de Patente: ES 2150381 B1
Fecha de publicación: 16.06.2001
Problema planteado: Uno de los principales problemas con los que se encuentran los padres , especialmente los primerizos, durante los primeros meses de vida del bebé es la imposibilidad de identificar la causa de su llanto.
Solución propuesta: El inventor propone la utilización de un dispositivo que incorpora además de otros sensores, uno que es sensible al llanto del bebé o a los gemidos emitidos por un enfermo o anciano, preprogramado para identificar los diferentes intervalos, frecuencia e intensidad del llanto o los gemidos, de forma que sea posible traducirlos y determinar cual es el motivo del llanto o gemido en función de las características del mismo.
Descripción de la invención: La carcasa (1) presenta una serie de protuberancias en las que se ubican cada uno de los sensores (3) sensibles a cada parámetro. El sensor de ruido (5) está preprogramado para detectar no solo el ruido ambiente sino también cualquier sonido, preferentemente el llanto del bebé, interpretando los diversos tonos o frecuencias de ese llanto al objeto de activar el testigo (13) correspondiente al hambre, aburrimiento, dolor, sueño o estrés del niño o adulto impedido.

Título: Babero que aumenta el vínculo entre el bebé y su padre.
Nº de Patente: US4776546
Problema planteado: En aquellas ocasiones en que un bebé de escasa edad tiene que ser alimentado mediante biberón, la relación entre el progenitor y el hijo se ve perjudicada por el hecho de que una de las manos del mismo debe sujetar el biberón mientras que la otra lo hace con el bebé. Sería conveniente emplear algún tipo de dispositivo que permitiera dar el biberón al bebé de modo similar a como hace la madre cuando le da de mamar.
Solución propuesta: El inventor ha diseñado un babero que se anuda alrededor del cuello del usuario y que cuenta con un par de alojamientos para dos biberones, de modo que el padre o la madre podrá dar el biberón al bebé con la posibilidad de emplear las dos manos para sujetar y acariciar al bebé.

Título: Aparato para dar palmaditas a un bebé.
Nº de Patente: US 3552388
Fecha de publicación: 05.01.1971
Problema planteado: Son ampliamente conocidas las dificultades que los bebés y niños pequeños presentan para conciliar el sueño. Según afirma el inventor, una de las técnicas más utilizadas para lograr que el niño se duerma es proporcionarle palmaditas en la espalda o las nalgas, lo cual puede resultar agotador, especialmente si el bebé se despierta en medio de la noche reclamando la atención de los padres.
Solución propuesta: El inventor sugiere el empleo de un aparato que proporcionará dichas palmaditas de manera automática. El dispositivo consta de una estructura en forma de L (12), que se sujeta a los barrotes de la cuna y de un motor eléctrico (20) que hará girar un brazo (28) con una mano simulada (29) en su extremo.

Título: Dispositivo para la ubicación en un vehículo de un bebé
Nº de Patente: JP2000000144
Fecha de publicación: 30.01.2001
Problema planteado:.Con el fin de que un bebé viaje dentro de un vehículo en condiciones de seguridad, la legislación establece que éste debe viajar en una silla homologada que con frecuencia se sitúa en el asiento trasero. En el caso de que el conductor viaje sin otra compañía que la del bebé, se encontrará con dificultades para controlar su estado, especialmente si se trata de un bebé de pocos meses, debiendo para ello girar la cabeza, lo cual puede dar lugar a situaciones de peligro en la circulación.
Solución propuesta: El inventor propone situar al bebé en el interior de una cuna de seguridad, la cual se colgará del techo del vehículo, de manera que el bebé pueda ser observado sin dificultad por parte del conductor a través del espejo retrovisor.
Descripción de la invención: La cuna de seguridad (3), que se asemeja a una jaula, se suspende del techo del vehículo (9), en su parte trasera. El conductor podrá controlar el estado del bebé (31) con solo desviar su mirada hacia el espejo retrovisor (7).

TÍTULO: Dispositivo de barrera para niños
Nº DE PATENTE: US5255958
Problema planteado: Cuando en una familia hay dos o más niños de edades tempranas y similares, no es extraño que los viajes por carretera se conviertan en una actividad muy estresante, por las constantes peleas y discusiones.
Solución propuesta: La solución del inventor es bien sencilla. Se trata de interponer entre dos niños sentados en el asiento trasero de un vehículo una barrera que impida su contacto físico.

Título: “Piruleta” de pulgar
Nº de Patente: US 2190231
Problema planteado: Las tradicionales piruletas plantean un serio problema de seguridad ante el riesgo de que los palitos que soportan el caramelo puedan clavarse en la boca y otras zonas delicadas de los niños.
Solución propuesta: El inventor propone un caramelo en el que el propio dedo del usuario sustituye al tradicional palito.

TÍTULO: Cinturón con actividades para bebés ciclistas
Nº DE PATENTE: US6224450
Problema planteado: Es frecuente que los padres aficionados al ciclismo saquen a pasear a sus hijos menores sentados en una sillita trasera. Sin embargo, con frecuencia se aburren, pudiendo arruinar el paseo a su progenitor.
Solución propuesta: Se trata de que el ciclista porte un cinturón con numerosos juguetes de todo tipo acoplados al mismo, de modo que el niño no tendrá ocasión de aburrirse.

SEGURIDAD/ SECURITY
Título: Dispositivo de seguridad para conductores
Nº de Patente: US2449784
Fecha de publicación: 21/09/1948
Problema planteado: Es de sobra conocido que entre las causas más frecuentes de los accidentes de tráfico se encuentra la pérdida de control del vehículo tras quedarse dormido el conductor.
Solución propuesta: En realidad la invención no evita que el conductor caiga en los brazos de Morfeo sino que lo rescata del mundo de los sueños al entrar en contacto su barbilla con un elemento punzante.
Descripción de la invención: El dispositivo consiste en un elemento triangular (5) que se sujeta del cuello del conductor por medio de una cinta o cuerda (8). De la parte inferior del elemento triangular (5) surge un gancho (13) que termina en un elemento punzante (14). En dicho extremo (14) se sitúa un elemento de caucho (15) con una perforación pasante (16) que limita la longitud punzante saliente. Como se observa en la figura, el dispositivo se sitúa de tal manera que si el conductor inclina su cabeza como consecuencia del sueño, su barbilla entra en contacto con el elemento punzante (14), despertándose rápidamente y evitando así un accidente.

TÍTULO: Maniquí portátil
Nº DE PATENTE: US4820231
Problema planteado: El inventor expone el problema que supone conducir un vehículo en solitario en determinadas circunstancias, en las que un conductor no acompañado se puede ver sometido a un asalto, robo, etc.
Solución propuesta: El inventor propone un “muñeco” o maniquí fácilmente plegable y transportable en un maletín o bolsa, desplegándose rápidamente cuando las circunstancias indican que parece conveniente mostrar al resto del mundo que uno se encuentra acompañado.

Título: Arma de defensa
Nº de Patente: US5823572
Fecha de publicación: 20/10/1998
Problema planteado: .Las armas de defensa convencionales son pesadas, de gran volumen y caras, difíciles de transportar en un bolso.
Solución propuesta: Se propone la utilización como arma de defensa de un bloc de notas al cual se le da una forma que permite el apoyo del pulgar en uno de los cantos y de los otros dedos con el canto opuesto. Se trata de un arma ligera y barata. Asimismo, permite anotar rápidamente todo tipo de datos relacionados con un asalto callejero; lugar, hora y físico del asaltante. Las cavidades en los cantos facilitan la toma de notas cuando se carece de una superficie dura sobre la que apoyarse.
Descripción de la invención: La figura muestra un ejemplo de utilización de la invención en el que una mujer (24) es asaltada. La mujer (24) extrae el bloc de notas de su bolso, lo sostiene firmemente con sus dedos y trata de dañar los ojos del asaltante con la espiral del bloc 8’, que es de forma triangular. Sorprendido, el atacante dudará y la mujer podrá escapar. Una vez a salvo, podrá escribir toda la información que recuerde sobre el asaltante para efectuar la correspondiente denuncia.

Título: Dispositivo para evitar lesiones en caídas de la cama
Nº de Patente: US 5592705 A
Fecha de publicación: 14.01.1997
Problema planteado: En los hospitales y residencias gerontológicas son frecuentes los casos de caídas de la cama, con el consecuente agravamiento del estado de salud de aquellos pacientes que las sufren. Actualmente los únicos métodos disponibles para evitar las caídas son la sedación de los pacientes, la utilización de verjas laterales y otros métodos restrictivos. En todos los casos se ve afectada la comodidad de las personas y nunca se garantiza la ausencia de caída con los correspondientes perjuicios.
Solución propuesta: El inventor no pretende evitar las caídas con su invento sino los daños asociados a las mismas. Para ello propone la utilización de un cojín que se despliega en caso de caída del usuario de la cama, evitando su impacto contra el piso.
Descripción de la invención: El cojín amortiguador (24) se aloja debajo de la cama (10). En el somier (16) se sitúa un sensor que al detectar la pérdida de peso actúa sobre una válvula (20) que libera el aire comprimido que expulsa el cojín (24) que recoge a la persona (30).

TÍTULO: Escudo portátil
Nº DE PATENTE: US2921317
Problema planteado: La invención se patentó en el año 1956, en plena guerra fría cuando existía casi la certeza de que tarde o temprano se sufriría un ataque nuclear, en este caso procedente de la Unión Soviética, pues el inventor era neoyorquino. Existía gran temor a verse en medio de un ataque alejado de un refugio y también a verse afectado por el llamado “fall-out” o caída de material radio-activo. Solución propuesta: Nada mejor que un refugio portátil, que con la ayuda de un muro serviría para aislar el cuerpo humano del “fall-out”, porque en caso de impacto cercano pensamos que sería inútil. Viendo los dibujos se observa que también funcionaría como una estupenda herramienta de camuflaje en entornos urbanos, por ejemplo, en situaciones de “guerrilla urbana”.

Título: Trampa para ladrones.
Nº de Patente: FR2726674
Fecha de publicación:10.05.1996
Problema planteado: Las galerías de arte y museos normalmente exponen sus piezas de mayor valor rodeadas de grandes medidas de seguridad. En el caso de joyas y pequeñas esculturas la existencia de un grueso cristal entre ellas y el observador hace que éste no las pueda apreciar con total nitidez.
Solución propuesta: El inventor propone la utilización de un sistema de seguridad que no interpone ninguna barrera entre la obra de arte exhibida y el observador. La barrera de seguridad sólo surgirá si alguien se acerca peligrosamente al objeto protegido.
Descripción de la invención: La invención consta de un sensor electrónico de proximidad (5),el cual al detectar la presencia del brazo del caco que pretende sustraer la obra expuesta, acciona las levas (10, 11) que desencadenan la salida de las pantallas metálicas (7, 7′), las cuales aprisionan la mano del ladrón, el cual sólo podrá liberarse presionando el botón (B), mediante el cual avisará a la policía o a un servicio privado de seguridad.

Título: Sistema de protección para motoristas
Nº de Patente: US 5781936 A
Fecha de publicación: 21.07.1998
Problema planteado: Los motoristas siempre corren un gran peligro en los accidentes de tráfico, pues normalmente sólo su cabeza está protegida mediante el casco, mientras que el resto del cuerpo recibe directamente el impacto, ya sea contra el suelo o contra otro vehículo.
Solución propuesta: El inventor propone la utilización de una prenda que rodea el tronco del motorista, y por tanto sus partes vitales, fundamentalmente la espina dorsal y que se infla rápidamente en el momento en que el motorista se separa de la moto una determinada distancia.
Descripción de la invención: El motorista (14) va provisto de una prenda exterior (18) que posee en su interior un elemento de inflado constituido por una fuente de aire a presión. Dicho elemento de inflado está unido al vehículo (24) mediante un cable (50) y un conector (56). Cuando se produce una colisión, el motorista se ve obligado a dejar el vehículo de manera involuntaria y cuando se aleja del mismo una determinada distancia, el cable (50) se tensa y activa la unidad de inflado, con lo que la prenda (18) ya inflada amortigua el impacto del motorista, reduciendo o eliminando las posibles lesiones.

Título: Gafas para no dormirse
Nº de Patente: DE10015200
Fecha de publicación: 04.10.2001
Problema planteado: El sueño es uno de las causas más frecuentes de los accidentes de tráfico, al perder el conductor el control del vehículo, aunque sea durante unos instantes.
Solución propuesta: El inventor propone la utilización de unas gafas que detectan la duración del parpadeo del usuario, activando una alarma, cuando éste cae por debajo de un nivel.
Descripción de la invención: Las gafas poseen un puente orientable en altura y un soporte (4c) ajustable horizontalmente que porta un componente óptico-electrónico (4) o una vídeo cámara miniaturizada. Dicho elemento óptico detecta la duración del parpadeo y la analiza mediante una unidad de evaluación. Si los ojos permanecen cerrados durante un intervalo superior a un valor prefijado, se dispara una alarma.

Título: Prenda de combate flotante y a prueba de balas
Nº de Patente: US 3398406
Fecha de publicación: 30.12.1965
En este caso el interés de la patente (una prenda de combate que además de flotar es antibalas) está en sus dibujos, que constituyen un auténtico homenaje a los cómics de “hazañas bélicas”

Título: Método y dispositivo para desarticular un ataque terrorista dentro de un avión.
Nº de Patente: US6933851
Fecha de publicación: 23.08.2005
Problema planteado: Como es bien sabido el ataque terrorista del 11 de septiembre de 2001 provocó que la seguridad aérea se tratara de aumentar por todos los medios. La mayoría de los procedimientos utilizados actualmente se centran en impedir el acceso de terroristas y sus explosivos al interior del un avión, pero si éstos logran acceder, resulta complicado neutralizarlos. Esta invención tiene como fin facilitar la neutralización de posibles terroristas que han accedido al interior del avión.
Solución propuesta: El inventor propone que cada uno de los pasajeros que sube al avión sean equipado con un dispositivo, por ejemplo una pulsera, capaz de ser activado remotamente y proporcionarle un shock eléctrico que le deje temporalmente fuera de combate en caso de intento de secuestro.

Título: Zapato que marca huellas contrarias al avance
Nº de Patente: US3823494
Problema planteado:
Son numerosas las situaciones en las que las huellas de los soldados quedan fácilmente marcadas en el terreno por ejemplo, cuando se trata de zonas con arena, barro, nieve, etc, con el problema de que su rastro puede ser seguido por el enemigo fácilmente.
Solución propuesta: Para evitar este problema y a su vez despistar al enemigo, el inventor ha propuesto un zapato cuya suela deja la marca de una huella que parece avanzar en sentido contrario al del avance real del usuario.

Título: Bolso de mano con bandolera desprendible y alarma.
Nº de patente: GB2420209
Problema planteado: Son numerosos los casos en los que una persona que lleva un bolso colgado del hombro es objeto de un “tirón” por parte de delincuentes que circulan en motocicleta. La víctima suele resistirse y acaba siendo arrastrada unos metros antes de soltar el bolso y perder el mismo con su valioso contenido.
Solución propuesta: El inventor propone un bolso cuyas cintas, unidas magnéticamente al bolso, se desprenden al sufrir un tirón, accionando una alarma que espantará a los malhechores. En este documento de patente destacan los dibujos en los que a modo de cómic se ilustra la situación habitual en el “estado de la técnica” y como se evita gracias a la invención.


TÍTULO: Traje protector de tiburones
Nº DE PATENTE: US4833729
Problema planteado: No es preciso explicar en detalle el problema que los tiburones suponen para los buceadores. Su principal peligro es que son capaces de cerrar sus mandíbulas sobre cualquier órgano humano.
Solución propuesta: Con el objetivo de evitar el cierre de las mandíbulas de los tiburones sobre las extremidades de un buceador, se disponen en el traje de buceo numerosos elementos alargados y punzantes.

Título: Sistema antisecuestro para aviones
Nº de Patente: US3811643
Fecha de publicación: 02/11/1972
Problema planteado: Hoy en día siguen produciéndose secuestros de aviones, pero en los años 60 y 70 este tipo de secuestros era muy, muy común; entre 1968 y 1972, 130 aeronaves fueron secuestradas en los EE.UU., la mayoría por fugitivos o desertores de la guerra de Vietnam que desviaban los aviones hacia La Habana. Hay que recordar que en aquellos años no se empleaban los detectores de metales. Por cada avión que aterrizaba en La Habana, su recuperación suponía alrededor de 7.500$ que la compañía aérea debía pagar al gobierno cubano. Es en este contexto que el inventor propuso un invento destinado a evitar el aterrizaje en el extranjero de un avión en caso de secuestro.
Solución propuesta: En el pasillo que da acceso a la cabina de los pilotos se disponen dos trampillas, que al accionarse hacen caer a los supuestos secuestradores en unas cápsulas dispuestas de paracaídas. Una vez atrapados los secuestradores en las cápsulas, éstas se liberan, accionándose poco después y de manera automática durante la caída los paracaídas, de manera que el secuestrador puede aterrizar sin sufrir daños y se evita que el avión tenga que aterrizar en un aeropuerto distinto del inicialmente previsto. En 2013 el inventor, Gustavo Pizzo, fue galardonado, de manera póstuma, con el llamado IG Nobel en la categoría de “ingeniería de seguridad”.

TÍTULO: Dispositivo de alarma mejorado
Nº DE PATENTE: US4212007
Problema planteado: Se trata de potenciar el efecto disuasivo que produce una alarma convencional.
Solución propuesta: Además del sonido de alarma habitual, combinado con luces, el intento de intrusión dispara un mecanismo que actúa sobre un perro simulado que hará creer al ladrón que la casa o el local se encuentran protegidos por un perro peligroso.

TÍTULO: Medidas de defensa frente a un ataque a vehículo volador no tripulado
Nº DE PATENTE: US9524648
Problema planteado: Las empresas de venta por internet tienen previsto utilizar vehículos voladores no tripulados, los llamados “drones” para el reparto de los productos adquiridos, e incluso ha habido ya algunos ensayos. Pero hay que prever qué hacer en caso de que dichos vehículos sean atacados con el fin de hacerse con los productos transportados.
Solución propuesta: Un microprocesador dotado de una serie de sensores detecta un ataque y ordena la actuación de los medios de defensa, que, dependiendo de la situación, serán un “airbag”, un “parachoques”, un giro de la nave, paracaídas o espuma.

TRANSPORTE / TRANSPORT
Título: Helicoche
Nº de Patente: US5203520
Fecha de publicación: 20/04/1993
Problema planteado: Indudablemente el vehículo automóvil ha supuesto un avance tecnológico que ha revolucionado la vida del ser humano en el siglo XX. Sin embargo, tras más de media hora inmovilizado dentro del vehículo en un atasco, uno se empieza a plantear si la aparición del vehículo automóvil ha supuesto un adelanto o un retroceso.
Solución propuesta: El inventor pretende dotar al vehículo automóvil tradicional de una característica adicional que aumente su valor añadido. Se trata de transformar el coche en un “helicoche”, que pueda despegar verticalmente y viajar por el aire cuando la circulación por superficie se haga insoportable.
Descripción de la invención: El “helicoche” consiste en un automóvil del tipo “turismo” tradicional al que se incorpora un conjunto rotor que emerge del techo (16). El conjunto rotor (16) consta de un eje (2), al que transmite el movimiento el motor del vehículo, y un par de aspas telescópicas (30) cuya longitud se puede disminuir cuando el vehículo se encuentre en el modo “terrestre”. De la parte posterior del vehículo (36) emerge el rotor posterior, con un eje principal (32) y unas aspas (40) telescópicas, lo cual permite reducirlo a una pequeña protuberancia en la parte trasera del automóvil, cuando éste se utilice en modo terrestre. Asimismo se puede instalar en el techo del vehículo un deflector de aire que se elevará mediante un pistón hidráulico cuando el vehículo circule por la superficie, evitando así que el conjunto rotor superior frene el avance del vehículo.

Título: Autocóptero, vehículo de automoción a motor, reconvertible en aeromóvil.
Nº de Patente: ES 2151798 A1
Fecha de publicación: 01.01.2001
Problema planteado: El inventor expone la existencia de multitud de automóviles que transitan por autopistas, carreteras y caminos, pero no pueden volar. Asimismo existen multitud de modelos de helicópteros que vuelan, despegan y aterrizan verticalmente pero no pueden discurrir por carreteras ni circular por vías urbanas, espacios interiores cerrados, ni aparcar en ciudades.
Solución propuesta: El inventor propone un vehículo, especie de semiautomóvil y de semihelicóptero con un sistema que permite convertirlo en automóvil o aeromóvil, según desee el usuario.
Descripción de la invención:
Con el fin de conseguir la convertibilidad entre automóvil y aeromóvil el autocóptero consta de unos sistemas comunes de transmisión de tornillo sin fin para motor (1), de un engranaje hipoide para diferencial (3), de un motor ultraligero de oposición cilíndrica en simbiosis con motor termico sobrealimentado o dos independientes de las mismas características (10 y 11), de un sistema rotor, totalmente articulado con articulación de batimento y ventral de arrastre (7, 16) y de un sistema mixto de embrague, mecánico, centrífugo y de fricción.

Título: Avión sin alas
Nº de Patente: ES 1050886 U
Fecha de publicación: 30.06.2001
Problema planteado: Los aviones comerciales habituales cuentan, como todo el mundo sabe, de dos alas. El inventor expone que la presencia de alas en los aviones resta mucha maniobrabilidad al aparato, con la consiguiente falta de seguridad.
Solución propuesta: El inventor propone la utilización de una sola ala que está unida a los extremos del tronco del avión, sin sobresalir por los lados.
Descripción de la invención: Se trata de un avión que parece un misil porque no tiene las alas habituales a los lados del tronco. El ala está debajo del tronco (1) y ocupa una superficie igual a éste tanto a lo largo como a lo ancho y se une a él por los laterales dejando el espacio suficiente para el recorrido del aire. Como medio de impulsión utiliza un motor eléctrico que mueve unas grandes hélices (5) situadas en la parte inferior del ala. El mecanismo de avance es una tobera con forma circular (4) que se sitúa en la parte exterior de las hélices y que conduce el aire a un estrechamiento de dicha tobera dirigida hacia la parte trasera.

Título: Paraguas para vehículos
Nº de Patente: JPH11105548
Fecha de publicación: 20.04.1999
Problema planteado: En los días de lluvia, la entrada en un vehículo, ya sea un taxi o el vehículo propio se transforma en una operación complicada, ya que en el intervalo que transcurre entre el cierre del paraguas y el momento en el que uno se encuentra ubicado en el interior del vehículo, se queda expuesto a la lluvia, lo cual puede ser muy desagradable, especialmente en casos de precipitaciones torrenciales.
Solución propuesta: El inventor propone la utilización de un paraguas ubicado en el techo del vehículo y que se despliega al producirse la apertura de las puertas.
Descripción de la invención: El paraguas (3) se encuentraubicado de forma plegada en el interior de una carcasa alargada (1), soportada sobre dos pilares que se apoyan sobre el techo del vehículo. Asimismo el paraguas se apoya por uno de sus extremos y mediante otro pilar sobre la parte superior de la puerta. Al abrir la puerta, se producirá el despliegue del paraguas (3).

TÍTULO: Dispositivo para proporcionar una sensación de vuelo.
Nº DE PATENTE: DE 19943826 A1
Problema planteado: El inventor comenta que son conocidos diversos dispositivos, principalmente montañas rusas, torres de caída libre y similares que permiten experimentar sensaciones similares al vuelo, sin embargo su duración es limitada y someten al usuario a un excesivo estrés físico, por lo que ciertas personas no pueden utilizarlos. Existe por tanto la necesidad de crear algún dispositivo que permita experimentar la sensación de vuelo pero sin experimentar efectos secundarios y durante un tiempo ilimitado.
Solución propuesta: El inventor propone un dispositivo (5) soportado sobre un poste casi vertical que se apoya sobre el techo de un vehículo. El usuario se sitúa sobre el dispositivo en posición horizontal y con posibilidad de rotación. De ese modo y cuando el vehículo está circulando se experimenta una sensación muy similar a la del vuelo y sin sufrir estrés físico. ¡Ojo con los túneles y puentes!

TÍTULO: Tren con vías en su parte superior
Nº DE PATENTE: US536360
Problema planteado: En este caso, el inventor no proporciona demasiados detalles sobre cuál es el problema que pretende resolver su invención, pero no parece que sea necesario; evitar choques entre trenes que viajan por la misma vía y permitir el adelantamiento de trenes veloces sobre aquellos más lentos y que viajan por los mismos raíles.
Solución propuesta: Se trata de un tren con extremos inclinados y que cuenta sobre su parte superior con raíles, como si se tratara de una vía más. Si un tren llega a alcanzar otro, subirá por la parte inclinada que se encuentre, circulará por encima del convoy alcanzado y descenderá por el otro extremo inclinado, superando así Al tren alcanzado, adelantándolo y dejándolo atrás.

LOCOMOTORAS CON HÉLICE (LOS TRENES VOLADORES)
En este número, dedicado en gran medida al Ferrocarril, incluimos también una invención ferroviaria muy curiosa, aunque no ha sido posible encontrar un documento de patente relativo a la misma. Se trata del denominado “Aerowagon”, diseñado por el inventor ruso Valerian Abakovsky a finales de 1919, en plena guerra civil rusa entre el ejército rojo y el blanco. Valerian era chófer en la organización secreta “Cheka”, creada por Lenin. Valerian pretendía crear un vehículo que permitiera transportar a gran velocidad a la élite comunista por las vías del ferrocarril. Para ello, construyó una locomotora que contaba en su parte frontal con una enorme hélice. Según cuentan los testigos, el vehículo era inestable y el ruido en su interior era insoportable. El primer viaje, que tuvo lugar en julio de 1921, de Moscú a Tula (alrededor de 200 km al sur) y con 6 ilustres pasajeros entre los que destacaban Fyodor Sergeyev (amigo de Stalin) y el propio inventor, concluyó con éxito. Sin embargo, en el viaje de regreso, el vehículo descarriló y murieron todos los ocupantes, que fueron enterrados en el Kremlin.
TÍTULO: Dispositivo para apartar el ganado de las vías del tren
Nº DE PATENTE: US292504
Problema planteado: En los Estados Unidos, durante los primeros años del ferrocarril, la invasión de las vías del ferrocarril por parte de ganado y animales salvajes suponía un grave peligro.
Solución propuesta: Se trataba de desviar agua procedente de la caldera a un cañón que se podrá dirigir a cualquier ser vivo que se encuentre sobre la vía o en las proximidades de esta.

TÍTULO: Sistema ferroviario de una única vía
Nº DE PATENTE: US844111
Problema planteado: En los sistemas ferroviarios clásicos, cuando varios trenes circulan por una misma vía es preciso prever la utilización de cambios de vía y otros elementos de seguridad por razones más que obvias.
Solución propuesta: Para que varios trenes puedan compartir la misma vía sin riesgo de alcance, el inventor propone dos tipos de vagones y locomotoras: uno grande de dos pisos con un túnel interior y otro de menor anchura que circula a través del anterior.

Título: Pista de aterrizaje y despegue.
Nº de Patente: ES2247904
Fecha de publicación: 01.03.2006
Problema planteado: El despegue y aterrizaje de un avión suponen un consumo de considerables recursos. En el caso del aterrizaje y debido al rozamiento se produce un fuerte desgaste de los frenos, ruedas y el asfalto. En cuanto al despegue, es el momento del vuelo en que más combustible se utiliza.
Solución propuesta: Se trata de una pista de despegue de asfalto (figura 2) que tras una primera parte con una pendiente progresiva de muy pocos grados termina en un tramo horizontal. De este modo el avión gana velocidad sin utilizar los motores, aprovechando únicamente la fuerza de la gravedad. En el caso de que se trate de una pista de aterrizaje (figura 1), una vez que el avión ha tomado tierra, debe remontar una determinada altura; la energía cinética que el avión lleva en vuelo se transforma en energía potencial.

Título: Transporte de casa prefabricadas
Nº de Patente: DE19904625
Fecha de publicación: 23.08.2005
Problema planteado: Es ampliamente conocida la existencia de viviendas prefabricadas. Este tipo de construcción permite reducir los costes considerablemente, sin embargo no se puede prescindir de los costes de montaje in situ, de supervisión, transporte, etc.
Solución propuesta: El inventor propone la fabricación y montaje de la vivienda en una gran fábrica o taller. La vivienda llevará instalada todos los accesorios y será posible aprovecharse de economías de escala (es decir, disminuir el coste por unidad). Posteriormente la vivienda totalmente fabricada será transportada mediante un zepelín o globo dirigible hasta el lugar de ubicación, siendo mínimos los trabajos de instalación

Título: Sistema de rescate de un barco hundido.
Nº de Patente: GB 1070600
Fecha de publicación: 01.06.1967
Se trata de un sistema para rescatar barcos hundidos que consiste en el bombeo al interior de la nave sumergida de cuerpos flotantes, por ejemplo pelotas de plástico, a través de un tubo conectado a un buque de salvamento. Este procedimiento fue utilizado con éxito en 1964 para rescatar un buque cargado con 5000 ovejas que se había hundido en el puerto de Kuwait y que amenazaba con contaminar el suministro de agua potable de la ciudad.
El inventor, el danés Karl krøyer, patentó el procedimiento en el Reino Unido y en Alemania. También solicitó una patente en los Países Bajos. Sin embargo, el examinador que estudió la solicitud encontró un antecedente sorprendente; una historieta del pato Donald, de 1949, en la que Donald y sus sobrinos hacen emerger un barco sumergido mediante la introducción en el mismo, a través de un tubo y desde un barco en superficie, de pelotas de ping pong. Como consecuencia la patente fue denegada en los Países Bajos.

Título: Sistema de teletransporte
Nº de Patente: US20060071122
Fecha de publicación: 06.04.2006
EL inventor declara que su invención surgió cuando iba caminando cerca de un aeropuerto y al pasar un avión por encima suyo experimentó un fenómeno de teletransporte a lo largo de una distancia de unos 100 metros. Una de las figuras muestra dicha situación.

RELIGIÓN / RELIGION
Título: Aparato para la realización de donaciones durante las celebraciones religiosas
Nº de Patente: WO95/07512
Fecha de publicación: 16/03/1995
Problema planteado: Es común la realización de donaciones durante las celebraciones religiosas cristianas. Normalmente uno de los participantes en la celebración hace circular una cesta en la que los otros asistentes pueden depositar sus donaciones en efectivo, ya sea en forma de monedas o billetes. Un problema que se puede plantear es que el asistente a la ceremonia quiera donar una cantidad mayor de la que dispone en efectivo en ese momento.
Solución propuesta: Se trata de emplear un aparato para la realización de donaciones durante las ceremonias religiosas que permita la utilización de tarjetas de crédito o de débito, con lo que se podrá realizar la donación que se desee independientemente de que se lleve dinero en efectivo o no.
Descripción de la invención: El aparato permite la entrega de un sobre con una donación en efectivo, y también posee un terminal para la aceptación de tarjetas de crédito y tarjetas de débito. Asimismo, el aparato recoge, analiza, procesa y ofrece información estadística sobre las donaciones realizadas.

Título: Dispositivo contador de oraciones
Nº de Patente: US2972819
Fecha de publicación: 28/02/1961
Problema planteado: Dentro de la religión católica es tradicional contar las oraciones del rosario mediante una sarta de cuentas separadas de diez en diez por otras más gruesas. Cuando no se conduce un automóvil no resulta posible emplear un rosario tradicional para contar las oraciones, condición necesaria para ganar ciertas indulgencias.
Solución propuesta: El inventor propone un contador de oraciones que consiste en una cinta adhesiva con una serie de relieves agrupados de tal manera que permiten al usuario conducir y contar las oraciones del rosario al mismo tiempo.
Descripción de la invención La invención consiste en una cinta (14) de tela o material plástico que tiene por una de sus caras una capa de material adhesivo. La cinta tiene un relieve en forma de cruz (19) y se aplica al volante (10) de manera que los relieves se proyecten hacia el exterior. La cinta posee una cadena (21) unida a la cinta (14), con cuatro decenas de pequeñas cuentas (22) y una decena de relieves (18), formando así las cinco decenas correspondientes al rosario verdadero. Cada uno de los relieves (18) y (17) pueden ser de un color diferente. Cuando el conductor desea rezar el rosario, sitúa el dedo de una mano sobre la cruz y recita el credo. A continuación, con un dedo de una mano puede sentir los relieves (15, 16 y 17) y con un dedo de la otra mano los relieves (18). Transfiriendo los dedos de un relieve a otro es posible contar las oraciones al mismo tiempo que se agarra el volante y se conduce. Si por el estado del tráfico o por cualquier otro motivo la persona se ve interrumpida en su oración puede recordar el color de la cuenta sobre la que descansaba su dedo cuando se produjo la interrupción. Cuando lo desee, el conductor puede reanudar sus oraciones sin necesidad de volver a empezar.

Título: Comunión pack
Nº de Patente: US 5584388 A
Fecha de publicación: 16.12.1996
Problema planteado: En las celebraciones religiosas católicas la administración del sacramento de la eucaristía juega un importante papel. Durante dicha administración el sacerdote suministra la hostia seguida del vino a los asistentes que así lo desean. Todo ello requiere una preparación previa. Dicha preparación y el posterior reparto consumen bastante tiempo y pueden restarlo de otras partes de la celebración.
Solución propuesta: El inventor propone suministrar a los asistentes a misa un paquete que contiene en distintos compartimentos la hostia y el vino. De ese modo la administración del sacramento de la eucaristía se simplifica y se agiliza.
Descripción de la invención: El conjunto consiste en un envase (10) con un compartimiento superior con tapa transparente (44) en el que se deposita la sagrada forma (42) y un vaso inferior (10’) en el que se incluye el vino (50).

HIGIENE / HYGIENE
Título: Ducha inteligente
| Nº de Patente: JPH08131501 |
Fecha de publicación:
Problema planteado: Uno de los principales problemas con el que se encuentra cualquier habitante del mundo desarrollado en la actualidad es conseguir una temperatura del agua de la ducha que se adecue a sus deseos, lo cual consume un valioso tiempo, agua y energía.
Solución propuesta: El inventor propone utilizar un sistema de ducha ”inteligente” en el que la temperatura del agua y la luminosidad del habitáculo de la ducha se adaptan al estado mental del usuario en ese momento.
Descripción de la invención: El sistema de ducha “inteligente” consiste en unos medios (20) que detectan las ondas cerebrales del usuario, unos medios (21) que determinan la temperatura del agua y el grado de iluminación deseables en función del estado psicológico del usuario y unos medios de control que actúan sobre un aparato de iluminación (16) y un dispositivo de mezcla de agua fría y caliente (14). El grado de iluminación y la temperatura del agua se modifican ante cualquier cambio en las ondas cerebrales.

Título: Unidad para la realización de necesidades fisiológicas en un avión de combate.
Nº de Patente: US 2749558
Fecha de publicación: 12.06.1956
Problema planteado: La realización de las necesidades fisiológicas constituye un auténtico problema para los pilotos de aviones de combate en los que no existe un copiloto que pueda relevarlos temporalmente. Si el piloto siente la necesidad de defecar u orinar durante el vuelo, deberá esperar a que el aterrizaje se haya producido. Pero ello no es siempre posible y menos aún bajo la tensión psicológica del combate o si resulta herido. Un piloto de combate se encontrará mucho más tranquilo y seguro si sabe que cuenta con un dispositivo que le permite eliminar las heces y la orina sin mayores problemas, lo cual repercutirá en una mayor eficacia de las misiones de vuelo.
Solución propuesta: Para solucionar este problema el inventor propone la utilización de un mono de combate de cuya zona posterior parte un tubo que se puede conectar fácilmente a una unidad de evacuación.
Descripción de la invención: La unidad de defecación consta de dos partes separadas: el asiento dentro del mono del piloto (32) y el dispositivo de eliminación (43). El asiento de defecación (27) desemboca en un tubo (38) fabricado preferentemente de caucho. Cuando no sea necesaria la utilización del tubo, puede guardarse en el bolsillo (23´). Cuando el piloto sienta alguna necesidad fisiológica, sacará el tubo (38) del bolsillo (23), lo conectará al cuello (47) de la unidad de eliminación (43) y no tendrá que preocuparse de nada más. Para facilitar la eliminación de las heces y de la orina se aprovechará la succión natural que el aire provoca sobre el exterior del fuselaje de la nave. Para ello el piloto accionará el mando de la válvula (53) y la abrirá hasta lograr la succión suficiente para limpiar de residuos la unidad (43).

Título: Báscula para usar en el retrete
Nº de Patente: DE 19816711 A
Fecha de publicación: 21/10/1999
Problema planteado: Hoy en día somos todos conscientes de los beneficios que proporciona mantener la línea. Es por ello que a menudo vigilamos nuestro peso mediante la utilización de la báscula, que en la mayoría de los hogares se encuentra en el cuarto de baño. Sin embargo hay lugares como hospitales, gimnasios, piscinas, etc donde el espacio disponible es tan escaso que se hace complicada la instalación de una báscula. También, en ciertas ocasiones, es necesario controlar con precisión la evolución del peso, incluso a diario y en esos casos hay que evitar los olvidos.
Solución propuesta: Para solucionar ambos problemas el inventor propone la utilización de una báscula o instrumento de medición del peso que se incorpora al asiento del retrete. De ese modo no es necesario ocupar un espacio adicional en cuartos de baño de espacio reducido y se evita el riesgo del olvido, puesto que la medición del peso se efectuará automáticamente cuando el usuario se siente sobre el retrete.
Descripción de la invención: La invención consta de un cable (1), un interface (2), un indicador digital o display (3) y un cable de fibra de vidrio (6) que se fija sobre el asiento del retrete (7). Cuando el usuario se sienta, el cable de fibra de vidrio se deforma y los datos de la medición se transmiten a través del cable (1) hasta el display (3).

Título: Sistema y procedimiento para recoger datos sobre consumo de papel en inodoros y similares.
Nº de Patente: ES 2197944 T3
Problema planteado: El inventor afirma que debido a problemas culturales, hasta ahora ha sido difícil conseguir información sobre hábitos de consumo de productos como el papel de inodoro.
Solución propuesta: Un sistema con medios de detección de una persona presente en el habitáculo, medios de detección de la longitud de papel extraída y medios de recogida y análisis de dichos datos.

TÍTULO: Cápsula de baño portátil
Nº DE PATENTE: US3677263
Problema planteado: Es conocida la dificultad que implica la higiene de las personas que permanecen en cama debido a una enfermedad.
Solución propuesta: El paciente se introduce en una cápsula con entrada y salida de agua.

TÍTULO: Urinario accionado mediante una réplica del manillar de una motocicleta.
Nº DE PATENTE: US8789808
Problema planteado: En este caso no se puede afirmar que haya un problema propiamente dicho, sino la necesidad de hacer más atractivos los urinarios masculinos y facilitar su utilización.
Solución propuesta: Se trata de acoplar la réplica de un manillar de motocicleta a la zona superior del urinario, de modo que se puede controlar la zona trasera a través de los espejos y provocar la descarga de la cisterna mediante un pulsador incorporado al manillar.

TÍTULO: Aparato para el cepillado integral del cuerpo humano
Nº DE PATENTE: US259939
Problema planteado: El problema que parece sugerir el inventor es que un cepillado exhaustivo de todo el cuerpo lleva su tiempo.
Solución propuesta: Se trata de un cepillo cilíndrico que cubre al usuario desde los pies al cuello y que gira alrededor del usuario. Es de esperar que las cerdas del cepillo sean extra-suaves.

TÍTULO: Caja para la ventilación de zapatos
Nº DE PATENTE: US2006254157
Problema planteado: No es preciso detallar el problema oloroso que representa el calzado, especialmente las zapatillas deportivas cuando el usuario se libera de ellas tras unas horas de práctica de deporte.
Solución propuesta: Se trata de un contenedor cuyas paredes son unas rejillas, con el fin de permitir una adecuada ventilación y que se acopla a una ventana de manera que el calzado queda ubicado en el lado exterior de la fachada.

DESPERTADORES Y RELOJES / ALARM CLOCKS AND WATCHES
Título Aparato despertador mediante chorro de aire frío
Nº de Patente: US4031711
Fecha de publicación: 28/06/1977
Problema planteado: La mayoría de la población recurre a cualquiera de los múltiples modelos de relojes despertadores existentes para despertarse a la hora deseada. Sin embargo, existe una minoría de personas con escasa sensibilidad hacia los estímulos sonoros, entre los cuales por supuesto se encuentran aquellas con algún tipo de defecto auditivo. Es palpable la necesidad de inventar un dispositivo despertador para estas personas.
Solución propuesta: Se trata de emplear un aparato acondicionador de aire, presente en gran número de viviendas, como despertador. Mediante una manguera elástica se dirige un chorro de aire frío hacia el usuario a la hora previamente fijada.
Descripción de la invención: La invención (10) consiste en una manguera flexible (12) que se conecta a la salida de aire acondicionado (16) por medio de una pieza (14). Esta pieza posee una parte en forma de rejilla, de tal manera que parte del aire se dirija hacia la habitación. En el otro extremo de la manguera (12) se encuentra el elemento (22), el cual para un adecuado funcionamiento de la invención debe colocarse sobre el colchón y debajo de la manta o sábana que cubre al usuario. En el interior de la manguera (12) se ubica una electroválvula que es accionada por medio de un temporizador. A la hora prefijada, el temporizador abre la válvula, de tal manera que un chorro de aire frío procedente del aparato acondicionador de aire penetra en el espacio existente entre el colchón y la manta o sábana, despertando al usuario y haciendo incómoda la permanencia en la calma.

Título: Dispositivo para la búsqueda de pareja
Nº de Patente: ES2105941
Fecha de publicación: 16/10/1997
Problema planteado: El problema que trata de solucionar el inventor ha acompañado a la humanidad desde sus orígenes. Se trata de encontrar la pareja adecuada. En ocasiones resulta muy complicado hallar una persona con los mismos gustos, aficiones y orientación sexual . Actualmente (nota: escrito en 1999) se conocen agencias matrimoniales con bases de datos realizadas a partir de la información proporcionada por los clientes. Mediante programas informáticos se comparan los datos y se seleccionan parejas por afinidad de personalidades. Sin embargo, este procedimiento presenta dos grandes inconvenientes: su lentitud y elevado coste.
Solución propuesta: El inventor pretende evitar la utilización de un intermediario, encontrando así la pareja ideal de forma rápida y barata. Para ello emplea un transmisor-receptor de señales codificadas, que tiene la misión de poner en contacto a personas que por sus características podrían complementarse, facilitando así el primer paso en la búsqueda de la pareja ideal.
Descripción de la invención: La invención consiste en una carcasa (10) ajustable mediante una correa (11) en la muñeca del usuario, presentando la cara exterior un display (12) en el que se visualizan la fecha y la hora y una parte del mismo constituye el visor de un ordenador dotado de un transmisor de señales codificadas que se establecen en función de un programa que cada usuario realiza mediante un teclado de mandos (14) en la memoria del ordenador. Cuando el usuario pase a menos de 5 metros de otro usuario que lleve el mismo dispositivo, ambos intercambiarán sus señales codificadas, y en caso de detectarse una señal compatible, se accionará en ambos usuarios una señal acústica combinada con una luz intermitente en el visor. Esta alarma avisa a cada usuario de que ha contactado con una persona de características similares a las suyas. De esta manera el dispositivo establece el primer paso para entablar conversación. Se fabricarán dos tipos de dispositivo, uno para hombre y otro para mujer, de este modo, para memorizar y codificar el tipo de sexo no podrán existir equivocaciones.

Título: Despertador que huye.
Nº de Patente: JP2005017259A
Fecha de publicación: 20.01.2005
Problema planteado: Pocos electrodomésticos de uso diario son objeto de una relación amor odio tan intensa como el reloj despertador. Aunque diariamente sea necesario su concurso para regresar al mundo real tras unas horas en brazos de Morfeo, pocos sonidos son tan desagradables. Como consecuencia, un porcentaje elevado de usuarios lo apagará a los pocos segundos, volviendo al mundo de los sueños, con consecuencias desastrosas en la mayoría de los casos.
Solución propuesta: Se propone proporcionar al despertador de medios que hagan que éste escape o se aleje del usuario, en cuanto comience a sonar la alarma. De este modo, el usuario deberá levantarse si desea que el despertador deje de sonar. Una vez fuera de la cama, ya será menos probable que vuelva a dormirse.
Descripción de la invención: El despertador (1) posee una serie de ruedas (2) que accionadas por el mecanismo de alarma, hacen que el aparato se aleje sustancialmente de su posición inicial.

TÍTULO: Reloj que muestra lo que resta de vida
Nº DE PATENTE: US5031161
Problema planteado: Según afirma el inventor, los seres humanos siempre han mostrado interés en conocer lo que les resta de vida.
Solución propuesta: El inventor ha diseñado un reloj que indica aproximadamente los años, horas, minutos y segundos que al usuario le quedan de vida. Ello siempre será útil para la toma de ciertas decisiones. Para conocer ese tiempo, se introducirán una serie de datos: tablas actuariales empleadas por las compañías de seguros, si se es fumador o no, si se consume alcohol excesivamente, práctica de ejercicio físico, estado general de salud, factores genéticos, etc.

BEBIDA Y ALIMENTACIÓN / FOOD AND DRINKS
Título: Procedimiento de obtención de un producto cosmético y producto cosmético obtenido por el procedimiento
Nº de Patente: ES2151456
Fecha de publicación: 16/12/2000
La curiosidad de esta solicitud reside en su solicitante: el Monasterio Cisterciense de Tulebras (Navarra). La inventora Mª José Armendáriz Bengoechea cede sus derechos al solicitante.
El producto cosmético se compone de ingredientes naturales: aceite, ceras y propóleo. Como ejemplo más representativo de la invención se puede citar la siguiente composición:

Título: Aparato para fumar
Nº de Patente: US4236539
Fecha de publicación: 02/12/1980
Problema planteado: Según indica el inventor, ya en 1980 había una gran hostilidad hacia los fumadores, especialmente en lugares públicos y en zonas donde se producía una gran concentración de personas. Se queja el inventor de que incluso en las fiestas en las que varias personas se reúnen de pie sosteniendo sus bebidas, los fumadores no son demasiado populares, por el mismo humo y por el riesgo de provocar alguna quemadura en el cigarrillo.
Solución propuesta: El inventor propone un aparato que permite ocultar el hecho de que se está fumando. Se trata de un “disfraz” muy sencillo, especialmente diseñado para los lugares públicos, y en especial para las fiestas. Se trata de un aparato cuya apariencia externa es la de un vaso de plástico con una pajita, de los que se suelen utilizar para tomar refrescos.
Descripción de la invención: El aparato consiste en un vaso para refrescos (12) con una tapa (14) en la que se inserta una pajita (18). Dentro del vaso y como continuación de la pajita (18) hay unos medios de sujeción (20) de un cigarrillo (22). Las paredes del vaso tienen un orificio de ventilación (26). Este orificio puede ser cubierto con facilidad por uno de los dedos del fumador, de modo que no se escape humo en los momentos más inoportunos. En el interior del vaso en su parte inferior se dispone un recipiente (28) para las cenizas (30) que estará fabricado de un material no inflamable. De este modo el usuario puede fumar sin llamar la atención, mientras parece que está bebiendo un refresco.

Título: Cono para helado motorizado
Nº de Patente: US 5971829
Fecha de publicación: 26.10.1999
Problema planteado: Quién no ha deseado alguna vez modelar alguna figura en el helado que estaba consumiendo. Sin embargo se trata de una tarea prácticamente imposible con los soportes de helado tradicionales.
Solución propuesta: El inventor propone la utilización de un soporte de helados en forma de cono, con capacidad de movimiento rotativo.
Descripción de la invención: La bandeja que sirve de soporte a la bola de helado (33) gira gracias a un mecanismo de ruedas dentadas propulsado por un motor eléctrico. Cuando el usuario lo desee, accionará el interruptor (44) y la bola de helado depositada sobre la bandeja (33) comenzará a girar. Utilizando la punta de la lengua será posible esculpir canales como los representados en la figura o cualquier otro tipo de formas.

Título: Bebida
Nº de Patente: ES2262455
Fecha de publicación: 16.11.2006
Descripción de la invención: La invención consiste en una bebida que incluye Aurum potabile en su composición. El “aurum potabile” (oro bebible), utilizado por algunos alquimistas desde la edad media, era considerado un elixir de la vida con fines curativos y estaba fabricado con oro puro, licuado de forma secreta y procesado en el laboratorio durante varios meses. Hace pocos años y tras 20 años de estudios e investigación en laboratorio, dos alquimistas alemanes consiguieron decodificar las instrucciones de Paracelso (médico, alquimista y filósofo del siglo XV conocedor de la fórmula).
Se trata de una bebida formada por vino espumoso que incluye “Aurum potabile” en una proporción comprendida entre 0,004-0,08%. Además y para aportar un efecto más selecto a la bebida, presenta oro comestible, consistente en láminas de oro en una proporción comprendida entre 0,003-4% en peso
Efectos técnicos: El inventor afirma que se ha constatado que el “Aurum Potabile” actúa como un catalizador del proceso curativo comparable a un remedio homeopático correctamente administrado.

TÍTULO: Soporte de bebida apoyado en la cabeza.
Nº DE PATENTE: US5340006
Problema planteado: Normalmente el consumo de una bebida impide la realización de otras actividades que requieren la utilización de ambas manos.
Solución propuesta: La figura es auto-explicativa, el soporte del vaso o lata de refresco se apoya sobre la cabeza del usuario, que puede ir tomando el líquido gracias a una pajita.

TÍTULO: US3488050
Nº DE PATENTE: Juego de lanzamiento de tartas
Descripción de la invención: En esta ocasión hemos modificado el esquema tradicional empleado de problema planteado y solución al mismo. No hay tal problema sino que se trata de un juego que podría titularse “la ruleta rusa” del lanzador de tartas. El usuario coloca su rostro en el lugar preparado para tal fin y tras apretar un botón conocerá si tiene premio o no…….

TÍTULO: “Pajita” para compartir golosinas
Nº DE PATENTE: US20060065758
Se trata de una especie de pajita que hace posible compartir golosinas de gelatina empapadas en bebida entre dos personas. Según indica el inventor, permite poner en práctica un juego consistente en tratar de evitar que la otra persona alcance la golosina o al contrario enviárselo, venciendo su resistencia.

TÍTULO: Prendas con componentes comestibles
Nº DE PATENTE:US20040181857
Problema planteado: Ya son conocidas en el estado de la técnica las prendas comestibles, principalmente de ropa interior. Se suelen utilizar en fiestas, principalmente despedidas de soltero, sin embargo son incómodas y no se pueden vestir normalmente.
Solución propuesta: Para solucionar el problema planteado se proponen prendas no comestibles en las que sólo lo son unos caramelos que permiten el atado de la prenda. De este modo la prenda se puede vestir normalmente y llegado el momento es posible desprenderse de las mismas mediante la degustación de dichos elementos por otra persona.

COMPORTAMIENTO Y PSICOLOGÍA / BEHAVIOUR AND PSCHYCOLOGY
Título: Aparato para darse palmadas en la espalda
Nº de Patente: US4608967
Fecha de publicación: 02/09/1986
Problema planteado: Dentro del campo de la psicología resulta necesario en muchas ocasiones recurrir a técnicas de modificación del comportamiento. Entre estas técnicas se encuentra el desarrollo de una actitud mental positiva. Entre las actividades encaminadas al desarrollo de una actitud mental positiva se encuentra aquella en que el paciente informa a sus amigos y familiares de su decaimiento y les solicita una palmada en la espalda. Sin embargo, en ausencia de otras personas, debe recurrir a una postura forzada para auto-proporcionarse dicha palmadita.
Solución propuesta:. Para tratar de llenar el importante vacío existente dentro de las técnicas de desarrollo de una mentalidad positiva el inventor ha diseñado un aparato que permite al usuario proporcionarse la tan necesitada palmadita en la espalda de modo totalmente autónomo. Asimismo el inventor también ha pensado en la posibilidad de emplear su invento con fines de entretenimiento y diversión.
Descripción de la invención: Durante su empleo el aparato descansa sobre el hombre del usuario mediante el elemento de bloqueo (16). Sujetando la varilla (18), el usuario puede proporcionar al artefacto la inclinación angular deseada. Al brazo (20) se encuentra fijada una cinta o cuerda (28) de la cual tira el usuario para aproximar a su espalda la mano (24) y de este modo proporcionarse la tan necesitada palmadita en la espalda ya sea por diversión o para autofelicitarse por un trabajo bien hecho, o por la consecución de un objetivo.

Título: Silenciador de insultos
Nº de Patente: US4834212
Fecha de publicación: 30/05/1989
Problema planteado: Esta invención trata de dar solución a una situación con la que nos encontramos con frecuencia en nuestra vida diaria. En ocasiones una persona se siente tan frustrada por el curso de los acontecimientos, que no desea otra cosa que gritar y proferir toda clase de palabras malsonantes. Sin embargo, en muchos casos nos vemos obligados a reprimirnos para no parecer maleducados o no molestar con nuestros desahogos a los compañeros de trabajo o vecino. Esta represión de nuestros instintos
Solución propuesta: Los inventores pretenden dar respuesta a este problema mediante un silenciador que se sitúa sobre la boca en el momento oportuno. Asimismo, el silenciador posee un dispositivo medidor de la intensidad de los sonidos emitidos, lo que permite conocer al usuario el nivel de frustración o enfado experimentado.
Descripción de la invención: El dispositivo silenciador (13) posee en uno de sus extremos una forma que se ajusta a la boca del usuario formando un sellado casi perfecto. El interior del silenciador se encuentra forrado con un material espumoso apropiado que no sólo contribuya a la hermeticidad del sellado sino que absorba las ondas sonoras. Asimismo el exterior del silenciador posee tres emisores de luz (amarillo, verde y rojo) que indican tres niveles de intensidad de los sonidos. Un micrófono situado en el interior del silenciador y conectado a un circuito electrónico transforma las ondas sonoras en señales eléctricas. La intensidad puede ser indicada mediante impresión o cualquier mecanismo.

Título: Aparato para propinarse patadas
Nº de Patente: US 6293874 B1
Fecha de publicación: 25.09.2001
Problema planteado: Según afirma el inventor, en ciertos ritos de iniciación que es preciso superar para pasar a formar parte de algunas sectas o sociedades secretas, el aspirante debe ser golpeado repetidamente por los miembros de dicha sociedad.
Solución propuesta: Se propone la utilización de un aparato que permita que sea el aspirante el que se propine dichos golpes, evitando que los miembros de la sociedad secreta pueden sufrir algún daño.
Descripción de la invención: El aparato consta de unos brazos de manivela (32) que acciona el usuario (u), transmitiendo el movimiento mediante unas correas (24, 44) y un eje central (42) a un eje del que parten unos brazos radiales (56), en cuyos extremos se ubican unas botas que impactarán sobre las nalgas del aspirante.

Pacientes psicóticos y solicitudes de patente.
Realizando una búsqueda de posibles invenciones para esta sección fija de la revista, que ha permanecido en MARCHAMOS desde el primer número a principios de 1999, hemos encontrado un artículo denominado “pacientes psicóticos y solicitudes de patente” ( http://pb.rcpsych.org/cgi/reprint/21/12/764.pdf ) elaborado por los psiquiatras forenses británicos David V. James y Paul L. Gilluley , que aunque algo anticuado ya que se publicó en 1997 en la revista británica “The psychiatrist”, está muy relacionado con la temática de la sección y parte de su contenido puede resultar familiar para los examinadores de patente. Teniendo como desencadenante cuatro casos clínicos conocidos por los autores en los que los pacientes realizaron esfuerzos para patentar sus invenciones (“un vehículo lunar inflable”, “ una cura para el SIDA creada a partir de ingredientes caseros”, “una fórmula para viajar a través del tiempo” y un “método para lograr la fusión fría en un tubo de ensayo”) se formuló la hipótesis de que puesto que tradicionalmente se ha supuesto que hay una relación entre la creatividad y los problemas mentales, las Oficinas de Patentes podrían ser un depósito de “ideas psicóticas”. Tras un estudio de las colecciones de patentes existentes en la Oficina de Patentes de Reino Unido en 1997 no fue posible demostrar la hipótesis de partida, ya que ese tipo de invenciones parecen estar ausente en los documentos de patente publicados (aunque probablemente sean numerosas entre las solicitudes de patente presentadas que nunca llegan a ser publicadas y a las cuales no tuvieron acceso los autores por permanecer secretas) debido probablemente a tres motivos:
- El coste que supone la consecución de una patente (obstáculo que se puede superar en España debido a la posibilidad de obtener un aplazamiento de las tasas).
- El procedimiento de obtención de una patente es bastante exigente y precisa cierta organización.
- Por último, la creatividad científica requiere un conocimiento previo y los únicos “científicos locos” son aquellos que ya eran científicos creativos antes de que aparecieran los problemas mentales. La psicopatología, cuando se encuentra presente, sólo da un cierto barniz.
A continuación se reproducen algunos de los inventos “excéntricos” que ilustraban el artículo:


VESTIMENTA Y ACCESORIOS / CLOTHING AND ACCESSORIES
Título: Manopla para parejas
Nº de Patente: DE20102270U
Fecha de publicación: 31.05.2001
Problema planteado: En invierno y en los lugares de clima frío resulta casi imposible que una pareja camine agarrada de la mano a la intemperie sin la interposición entre ambas pieles de unos guantes
Solución propuesta: El inventor propone la utilización de una manopla compartida por los usuarios de manera que sea posible el contacto íntimo entre las pieles de los usuarios.
Descripción de la invención: Se trata de una manopla con dos aberturas (20), una para cada uno de los usuarios, unas extensiones para cubrir las muñecas (18) y opcionalmente para los pulgares (14, 16). Cada uno de los usuarios podrá llevar una manopla normal (22) para cubrir la mano libre.

Título: Dispositivo para cerrar cremalleras
Nº de Patente: US3568901
Problema planteado: Son ampliamente conocidas las dificultades asociadas con el cierre y apertura de algunas cremalleras, por ejemplo aquellas situadas en la parte posterior de algunos vestidos. En ocasiones es imposible sin la asistencia de otra persona.
Solución propuesta: La solución consiste en un dispositivo que consta de dos poleas y una cuerda que se desplaza gracias a ellas, sobre la cual se ubica un gancho que se engancha al tirador de la cremallera. El dispositivo se instala sobre cualquier puerta.

TÍTULO: Zapato de plataforma con compartimento de almacenamiento
Nº DE PATENTE: US20050172520
Problema planteado: Siempre son útiles aquellos lugares en los que guardar objetos de valor o dinero, para resguardarlos de la codicia ajena.
Solución propuesta: En este caso, el inventor pensaba que era un auténtico desperdicio no emplear con tal fin el abundante espacio proporcionado por los zapatos de plataforma.

Título: Paraguas con pluviómetro incorporado
Nº de Patente: US2007251556
Problema planteado: Según el inventor, una persona que lleva un paraguas puede desear conocer el volumen de lluvia que está cayendo. Si comprueba que se trata de una precipitación cuantiosa, tratará de evitar las zonas fácilmente inundables.
Solución propuesta: La lluvia se recoge en una copa superior, por encima la tela protectora y desciende por el mástil central para ser acumulada en un recipiente medidor o pluviómetro propiamente dicho queindicará la cuantía de la precipitación y a su vez servirá de empuñadura.

Título: Casco Invernadero
Nº de Patente: US4605000
Fecha de publicación: 12/08/1986
Problema planteado: En este caso el inventor no hace referencia ningún problema en concreto. Sin embargo a partir de la naturaleza de la invención y del lugar de residencia del inventor (Nueva York), se deduce que tras este invento se encuentra la preocupación por la contaminación atmosférica.
Solución propuesta: El inventor combina dos elementos ya conocidos: el terrario o invernadero en miniatura y por otro lado las mascarillas diseñadas para proteger de agentes atmosféricos potencialmente tóxicos. El terrario adopta la forma de un casco y de este modo el usuario respira únicamente el oxígeno desprendido por las plantas.
Descripción de la invención: La invención consiste en un casco que tiene una cúpula (12) que envuelve envuelve completamente la cabeza (14) de una persona (16). La cúpula (12) está construida en material antiniebla para que la persona tenga buena visibilidad. Alrededor del borde inferior se dispone un elemento (20) que aísla herméticamente del exterior. El casco se sujeta mediante unas correas (24) alrededor de los hombros y brazo. También dispone de dos filtros (30) que permiten la entrada de dióxido de carbono y la salida al exterior del aire expulsado por la persona con excepción del dióxido de carbono. Dentro del casco se sitúan dos plantas (32), cada una en su maceta (34). El dióxido de carbono del aire ambiental se mezclará con el expulsado por la persona y será empleado por las plantas, las cuales producirán oxígeno que será respirado por el usuario. El casco también posee dos dispositivos auditivos (52) y un amplificador de voz (54) que permiten la comunicación con el exterior del usuario.

TÍTULO: Trajeo de buceo con una única escafandra
Nº DE PATENTE: US1643667
Problema planteado: Cuando dos personas bucean en trajes separados, suele ocurrir que la comunicación no es sencilla, provocando en ocasiones serios errores y constituyendo un serio impedimento para las labores de formación de nuevos buceadores.
Solución propuesta: Se ha diseñado un nuevo traje de buceo donde ambos buceadores comparten la misma escafandra o casco, de modo que la comunicación no se ve dificultada de ningún modo, aunque habría que ver cómo se mueven los usuarios.

Título: Bolígrafo transformable en pulsera
Nº de Patente: US 5584195
Fecha de publicación: 17.12.1996
Problema planteado: Todos conocemos la importancia de llevar con nosotros un bolígrafo, una pluma o cualquier otro instrumento de escritura. Sin embargo, hay muchas ocasiones en las que la ropa que portamos no ofrece un bolsillo lo suficientemente espacioso para acomodar uno de estos elementos.
Solución propuesta: El inventor propone la utilización de un bolígrafo que se puede transformar fácilmente en una pulsera.

MOBILIARIO / FURNITURE
TÍTULO: Dispositivo para dormir en posición sentada
Nº DE PATENTE: US4235472
Problema planteado: Son numerosas las ocasiones en las que no es posible tumbarse y sin embargo existe necesidad de dormir
Solución propuesta: El inventor ha diseñado un dispositivo que puede adoptar varias posiciones y que proporciona diferentes tipos de apoyo que permiten que una persona pueda conciliar el sueño, aun cuando se encuentre en una posición sentada. Además, permite alojar alimentos en su interior.

TÍTULO: Colchón que levita
Nº DE PATENTE: US488836
Problema planteado: En algunos apartamentos el espacio disponible es tan escaso que sería deseable poder eliminar del suelo la cama durante el día, cuando no se está utilizando.
Solución propuesta: Un colchón se rellena con un gas de menor densidad que el aire, preferentemente helio, de modo que cuando no se está utilizando se eleva y queda pegado al techo de a habitación, dejando libre el espacio que se ocupa cuando se utiliza para dormir. Cuenta con un cordel que facilita su descenso cuando ello sea preciso.

Título: Cesto para la ropa
Nº de Patente: ES 1015148 U
Fecha de publicación: 01.06.1991
Problema planteado: Esta invención trata de ayudar a los padres en una de las tareas más arduas de la educación de los niños; lograr que adquieran la costumbre de depositar su ropa sucia en una cesta para la ropa
Solución propuesta: El inventor propone transformar el cesto de la ropa en una canasta de baloncesto. De este modo la introducción de la ropa sucia en el cesto se convertirá en un atractivo juego.
Descripción de la invención: Un tablero (12) se configura y decora de modo que se parezca a una canasta de baloncesto. El tablero está provisto de soportes (18) para sujetarlo a una puerta conveniente, por ejemplo, la puerta de entrada a la habitación del niño, la puerta de un cuarto ropero, la puerta de un cuarto de baño, etc…… Un aro (26) configurado de modo que se parezca a una canasta de baloncesto se monta en el tablero. Una red receptora de ropa (38), en forma de tubo alargado, se sujeta por un extremo al aro y se mantiene abierta para recibir la ropa. El extremo opuesto de la red receptora de ropa se mantiene normalmente cerrado mediante un cordón de lazada (42).

TÍTULO: Almohada con un bolsillo para dientes.
Nº DE PATENTE: CA2293190
Problema planteado: Existe la costumbre de que aquellos niños que pierden sus dientes de leche dejen éstos bajo la almohada para que sean cambiados por una moneda (en España y otros países de Iberoamérica es el ratoncito Pérez quien se encarga de dicha tarea mientras que en otros países es un hada quien realiza el trueque). Como es de esperar, dada la edad de los niños y que pierden sus dientes de leche, a lo largo de la noche el diente puede acabar escondido entre las sábanas o en el suelo, dificultando que el ratoncito Pérez lleve a cabo su misión.
Solución propuesta: Los inventores han ideado una funda para almohadas con un pequeño bolsillo donde se introducirá el diente, impidiendo que éste llegue a extraviarse.

Nº de Patente: WO2014061789
Fecha de publicación: 24/04/2014
Problema planteado: Algunas personas que duermen solas se encuentran con dificultades para conciliar el sueño, ante la falta de alguien que transmita confianza y seguridad en el mismo lecho.
Solución propuesta: Se trata de una almohada especialmente diseñada para ser abrazada y que cuenta en su interior con un mecanismo que permite simular los movimientos de respiración de un ser humano en reposo.

OBRAS PÚBLICAS / CIVIL WORKS
Título: Una solución al tsunami provocado por un posible hundimiento de la isla de la Palma
Nº de Patente: GB2409874
Fecha de publicación: 13.07.2005
Problema planteado: El solicitante afirma que la isla posee un volcán activo y uno inactivo. Debajo del volcán activo se está formando a partir del agua que se filtra a través del terreno, un lago subterráneo de grandes dimensiones. Asimismo la parte occidental de la isla de la Palma se compone casi exclusivamente de cenizas volcánicas, siendo esta parte mucho más frágil que el resto de la isla. Si el volcán entrara en erupción o bien la presión del lago subterráneo aumentara lo suficiente, se produciría un derrumbe hacia el océano Atlántico de gran parte de la cara occidental de la isla. Este hundimiento provocaría una ola gigante que horas más tardes impactaría sobre la costa este de Estados Unidos, arrasando ciudades enteras.
Solución propuesta: El inventor propone una solución para prevenir este Tsunami que consiste en vaciar el lago subterráneo mediante canales y túneles que se dirigirían hacia el sur y este de la isla, con lo que también aumentaría la fertilidad del terreno. Al mismo tiempo propone extender sobre toda la cara oeste de la isla una red fabricada a partir de azufre plástico y acrilato cianurado para atenuar el impacto sobre el mar de un eventual derrumbe.

TíTULO: Transferencia de agua entre zonas de la tierra situadas en distintas latitudes.
Nº DE PATENTE: GB 1047735 A
Problema planteado: En este caso el problema resulta evidente; la escasez de agua en ciertas zonas de la tierra.
Solución propuesta: La transferencia de agua de zonas ricas en el líquido elemento a zonas desérticas donde la presencia de agua permitiría una espectacular producción agrícola y por tanto alimentaria (en la imagen se observa un transvase desde la Antártida al centro de Asutralia). De acuerdo al inventor, el bombeo del agua se conseguiría gracias a la fuerza de Corolis que se genera por la rotación de la tierra y circularía por el interior de unas tuberías flotantes.

MISCELÁNEA / MISCELLANY
Título: Juego electrónico con efecto electrostático
Nº de Patente: US4553748
Fecha de publicación: 19/11/1985
Problema planteado: Dentro de los juegos electrónicos o video-juegos es habitual recompensar al jugador de alguna manera cuando alcanza una puntuación elevada. Ello suele hacerse mediante la concesión de partidas o de un bono extra de puntos. El inventor plantea la necesidad de mejorar estas recompensas, haciéndolas más atractivas, no sólo para el jugador sino también para el público circundante.
Solución propuesta: El inventor propone recompensar al jugador que alcanza una determina puntuación con una descarga electrostática de baja intensidad que provoca que sus cabellos se ericen proporcionando una experiencia visual única tanto al jugador como a las personas que contemplan el juego.Descripción de la invención: La invención consiste en un típico video-juego accionado por monedas al que se le añade un aparato para la descarga eléctrica (10). Durante el desarrollo del juego, el jugador (40) debe apoyar una de sus manos sobre el electrodo 25. Cuando se alcanza una determinada puntuación, se efectúa una descarga electrostática en el electrodo (25) que provocará que todos los cabellos del jugador se pongan de punta. Asimismo, se puede incluir una cámara fotográfica que proporcionaría un recuerdo del momento al jugador.

Título: Máquina y procedimiento para redactar una solicitud de patente.
Nº de Patente: US 6049811
Fecha de publicación: 11.04.2000
Problema planteado: Las solicitudes de patente, que tienen como objetivo obtener el monopolio de explotación comercial de las invenciones, se presentan ante las oficinas de patentes de todo el mundo. Los agentes de la propiedad industrial se suelen encargar de la redacción de las solicitudes de patente, pero según se afirma en la memoria de la solicitud, en los EE.UU. cobran unas cantidades que en ocasiones son de muchos miles de dólares, un coste prohibitivo para el inventor particular. Además el proceso mediante el que el inventor transmite la información relativa a la invención al agente de la propiedad industrial es muy arduo y con frecuencia es únicamente cuando la patente es objeto de procedimientos judiciales que aparecen aspectos de la invención que no se contemplaron en la redacción de las reivindicaciones, a pesar de su importancia.
Solución propuesta: El inventor propone la utilización de un programa informático, que se utilizará en un ordenador personal de los utilizados habitualmente y permitirá al inventor particular redactar la solicitud de patente sin recurrir a los servicios de un agente de la propiedad industrial. El programa irá solicitando los datos de forma secuencial y los ordenará del modo exigido habitualmente en las oficinas de patente del mundo entero.

TÍTULO: Protección de dispositivos electrónicos del daño causado por un impacto.
Nº DE PATENTE: WO2011100464
Se trata de un invento curioso, no sólo por la invención en sí sino también por el nombre del inventor y del solicitante. Uno de los inventores es Jeffrey Bezos, fundador y director de Amazon.com y esta empresa es también la solicitante. Se trata de una especie de funda para móviles, tabletas, y demás dispositivos electrónicos, que de impactar contra el suelo sufren graves daños. Unos sensores detectan la caída y antes de que se produzca el impacto contra el suelo activan unos elementos de amortiguación que pueden ser una especie de airbag (figura de la izquierda), unos elementos propulsores (figura de la derecha), muelles u otros medios.

TÍTULO: Trompeta que emite una llama controlada.
Nº de PATENTE: US 4247283
Problema planteado: En este caso no se puede afirmar que exista un problema propiamente dicho, sino la necesidad, como señala el inventor, de que las actuaciones de los grupos musicales se vean acompañadas de multitud de efectos visuales.
Solución propuesta: Se trata de una trompeta que permite la emisión de una llama mientras se está tocando el instrumento. La duración e intensidad de la llama se encuentra en todo momento bajo control del músico. Para ello, la trompeta cuenta con un cartucho de gas, medios de ignición del gas y una válvula que regula la cantidad de gas que se expulsa.

TÍTULO: Teclado para ejercicio.
Nº DE PATENTE: US2007183829
Se trata de un teclado similar a los utilizados en los ordenadores, pero de gran tamaño y dispuesto de manera que un deportista lo pueda utilizar durante su entrenamiento en deportes de lucha, esencialmente artes marciales. Los diversos golpes efectuados con las extremidades superiores o inferiores se transformarán en señales de entrada de acuerdo al código ASCII que se mostrarán en un monitor.

Título: Mando a distancia para la Televisión.
Nº de Patente: US3962748
Problema planteado: Ya en los años setenta existía la necesidad de disponer de un mando a distancia que permitiera cambiar de canal o modificar el volumen sin tener que abandonar la cómoda postura que el televidente suele adoptar delante de la llamada caja tonta.
Solución propuesta: En aquellos años, sin embargo, aún no se había comercializado la tecnología que unos años más tarde llevaría a la popularización del control remoto y este inventor ideó un bastón extensible con un extremo especialmente diseñado para accionar el botón del aparato de T.V. El bastón iba acompañado de una serie de accesorios que permitían la adaptación a los “botones” de las marcas más conocidas.

TÍTULO: Sistema de generación de electricidad accionado por un humano
Nº DE PATENTE: US6281594
Problema planteado: Es conocido que mediante el movimiento, los humanos podemos generar energía eléctrica, pero según el inventor no se conocían vestimentas que permitan el almacenamiento y distribución de dicha electricidad.
Solución propuesta: El calzado lleva en la suela un mecanismo que genera electricidad con el movimiento. A su vez, el calzado se conecta con un mono que incorpora un cableado y transporta la energía a unos puntos de conexión, donde se pueden enchufar diversos electrodomésticos, como un taladro, tal como se muestra en la figura.

TÍTULO: Cable submarino emisor de pulsos de sónar para el guiado y detección de embarcaciones, con especial referencia a la investigación del Monstruo del Lago Ness.
Nº DE PATENTE: GB1206580
Problema planteado: A finales de 1969, pocos meses después de la llegada del hombre a la Luna, Arthur Pedrick (sobre el que ya escribimos en el número 50 de Marchamos) afirmaba que “una vez se ha demostrado que la Luna no está hecha de queso verde, uno de los principales misterios de la ciencia que quedan por resolver es la existencia del Monstruo del Lago Ness”. A pesar de las múltiples investigaciones realizadas, hasta la fecha no ha habido ningún experimento que demuestre científicamente si dicho monstruo existe o si es sólo una leyenda inventada para atraer turistas a la zona.
Solución propuesta: El inventor propone un sistema formado por un cable submarino en el que se colocan a intervalos regulares unos emisores de sónar cuyas señales son detectadas por unos receptores en la superficie. Dado que el Lago Ness tiene forma alargada, es posible colocar este cable desde una orilla hasta la otra y realizar un barrido arrastrando el cable desde un extremo del lago hasta el otro, dejando así al Monstruo, en caso de existir, sin posibilidad de esconderse.

TÍTULO: Diana para prácticas de tiro
Nº DE PATENTE: US20130038020
Problema planteado: El problema con las dianas utilizadas para perfeccionar la puntería es que no simulan una situación real, de tres dimensiones. Otro problema con las dianas tradicionales es que cuando son alcanzadas no se simula la respuesta que los disparos producen en un objetivo real. Todo ello dificulta la práctica, ya que cuanto más realista sea la diana, mejor será el entrenamiento.
Solución propuesta: Se trata de una diana que simula un cuerpo humano en 3 dimensiones y que cuando es alcanzado libera un fluido similar a la sangre humana.

PATENTES DE PERSONAJES CÉLEBRES / PATENTS BY CELEBRITIES
Título: Método y medios para crear una ilusión antigravedad
Nº de Patente: US5255452
Inventor: Michael Jackson
Ahora que ha fallecido la estrella del pop Michael Jackson y los medios de comunicación han repasado todos los aspectos de su vida, conviene resaltar su faceta de inventor. En 1993 se publicó una solicitud de patente en la que figura como uno de los inventores y que tiene como objeto un sistema que pretende crear la ilusión de que un bailarín desafía la fuerza de la gravedad, al inclinarse hacia delante sin caer. Consiste en la utilización de unos postes que emergen del escenario en un determinado momento, postes que se acoplan a unas ranuras en los talones de los zapatos, permitiendo que el centro de gravedad se proyecte muy por delante o por detrás de los mismos, dando la impresión de desafiar a la gravedad.

Hedy Lamarr actriz de Hollywood e inventora.
En las páginas de anteriores números de la revista ya hemos hablado de personajes célebres por motivos distintos a las invenciones pero que también figuraron como inventores en algunas patentes. En esta ocasión se trata de la actriz Hedy Lamarr (Eva María Kiesler), nacida en Austria y muy popular en el Hollywood de los años 40. Su primer marido era fabricante de armas y de él aprendió sobre sistemas de guiado. Su segundo marido, George Antheil era pianista y compositor, pero posteriormente se interesó en el control por radio de torpedos. Como compositor había sido célebre por una obra llamada “Ballet Mécanique” que era interpretada por una serie de pianolas coordinadas. Aplicó sus conocimientos adquiridos en la coordinación de las pianolas o pianos mecánicos para establecer una sincronización entre los cambios de frecuencia en el transmisor y el emisor. La patente se concedió en 1942 y en ella se señalaba que una vez disparado el torpedo, éste podría ser guiado por un avión de observación que viajara a gran altura.

Nº de Patente: US6410833
Inventor: Marlon Brando
El célebre actor Marlon Brando figura como inventor de una patente que tiene como objeto un dispositivo de tensionado de un tambor. En su tiempo libre era aficionado a la música de percusión. El dispositivo de tensionado sustituye a los 5 o 6 tornillos que para ello emplean los tambores tradicionales.

Nº de Patente: US1370316
Inventor: Houdini
El mago Houdini alcanzó la celebridad gracias a su habilidad para escapar de situaciones complicadas, como ataduras con candados, baúles, etc. Por tanto no es de extrañar que figure como inventor en un traje para buzos en el que el usuario puede liberarse rápida y fácilmente del mismo en caso de emergencia y subir a la superficie.

MARK TWAIN Y SUS PATENTES
En números anteriores ya hemos tratado de personajes célebres que también realizaron incursiones en el mundo de la invención y de la patente, aparte de su actividad en la profesión que realmente les proporcionó la fama. Mark Twain, cuyo nombre real era Samuel Langhorne Clemens y alcanzó la fama por sus creaciones literarias, especialmente aquellas que recogían la atmósfera del sur estadounidense durante el siglo XIX y por personajes tan populares como Tom Sawyer o Huckleberry Finn. Pero también dedico parte de su vida a la actividad técnico-científica. Mantuvo una gran amistad con el gran inventor Nicola Tesla y visitaba a menudo su laboratorio, de hecho se afirma que comprobó de primera mano los contundentes efectos laxantes de ciertas plataformas vibratorias y oscilatorias inventadas por Tesla sobre quienes se ubicaban encima de ellas. Mark Twain obtuvo tres patentes, de las cuales reproducimos dos:

Aquella de sus obras literarias en la que más se puso de manifiesto su interés por las invenciones y las patentes fue la titulada “Un yanqui en la Corte del Rey Arturo”, donde se narra un viaje en el tiempo a la época del Rey Arturo. Sin embargo, fue también su interés por el mundo de la invención el que le llevó a la ruina económica, pues invirtió grandes cantidades en nuevas invenciones y tecnología sin los esperados retornos, especialmente en una máquina denominada “Paige typesetting machine” que de haber tenido éxito habría simplificado considerablemente la composición de textos en las imprentas, pero que fracasó debido a su complejidad mecánica.
LAS INVENCIONES DE PRINCE Y BUD SPENCER
Durante la primera mitad del 2016 nos han dejado dos personajes populares que también tuvieron alguna experiencia con el mundo de la invención. El primero de ellos es Prince (Prince Rogers Nelson), el cual falleció el pasado 21 de abril. Inventó un instrumento, al que bautizó como purpleaxxe y que es un híbrido entre una guitarra y un teclado. Lo protegió mediante diseño industrial en los EE.UU. El número del diseño es el USD349127.

También, el pasado 27 de junio falleció el conocido actor Bud Spencer, que a pesar de lo que podría indicar su nombre artístico, era napolitano y se llamaba en realidad Carlo Pedersoli. A lo largo de su vida, fue actor, guionista, productor cinematográfico, cantante, compositor y también inventor. De hecho, cuando se efectúa una búsqueda en la base de datos Espacenet, aparecen dos familias de patentes en las que figura como inventor; IT200976B y IT1233038B. El objeto de las patentes es una cerradura y un rifle de caza.

Las patentes de Antoine de Saint-Exupéry
El escritor francés Antoine de Saint-exupéry (1900-1944), mundialmente conocido por su obra “El principito”. Antes que escritor, se convirtió en piloto durante la realización de su servicio militar en 1921. Sus biógrafos comentan que desde muy temprana edad dio pruebas de gran ingenio
Entre 1934 y 1940 presentó una serie de solicitudes de patentes de invención relacionadas con el mundo de la aviación.Precisamente falleció en 1944 en plena guerra mundial al caer su avión sobre el Mediterráneo frente a Marsella.
En concreto, en la base de datos de Espacenet es posible encontrar 16 familias de patentes en las que figura como inventor.
FR795308: Se trata de un método para el aterrizaje de aviones sin visibilidad, así como unos dispositivos para su realización. La parte delantera del avión proyecta una figura oval o circular sobre el suelo, En la parte posterior del avión una célula fotoeléctrica mide el diámetro de la figura. El tamaño de la figura que se mide determinará la altura a la que se encuentra el avión.

FR850093: En esta patente, el objeto es un sistema de propulsión y sustentación para aviones basado en la utilización de cohetes:

Leopoldo Belda Soriano
Muy interesantes todas las patentes que se han registrado, algunas de ellas inservibles, pero que muchas veces es mejor patentarlas antes de que alguien te robe la idea, por muy absurda que sea. Me ha gustado mucho el post!
LikeLike