The year 2021, the second pandemic year, will also be seared into the memory of Spaniards because of the volcanic eruption of “Cumbre Vieja” on the Canary island of La Palma, which rumbled on for 85 days and was the longest one in the history of the island since records began.

In this article, we will take a look at the patents that in one way or another are related to volcanoes. It seems appropriate to begin with a patent document that makes direct reference to the island of La Palma. This is document GB2409874, which was already featured in 2006 in the issue 27 of MARCHAMOs magazine in the section “curious patents”. This patent’s title is: “A solution to the pending La Palma land-slide induced mega-tsunami”. Just shortly after the La Palma eruption started, this issue was brought to the forefront and has been regularly reported in the media. This theory is based on the idea that the collapse of a large slope of the Cumbre Vieja volcano into the Atlantic Ocean would bring about a large tsunami that would sweep over the Canary Islands, the coast of Morocco and the south of the Iberian Peninsula, reaching the east coast of North America. Fortunately, the disaster did not occur, although it seems that it could happen in the distant future if a series of unfavourable geological circumstances come together.
Patent GB2409874 proposes to drain the underground water on the west side of the island and to cover the slopes on that side of the island near the volcano with a plastic mesh.

A search of the freely accessible patent database Espacenet developed by the European Patent Office on patent documents related to volcanology was carried out and a number of sectors have been identified in which inventions related to this geological phenomenon can be found.

It will be seen throughout the article that patents related to volcanoes predominate in the Far East countries (Japan, China and Korea), probably because this phenomenon has traditionally been more common in those latitudes, in the so-called Pacific Ring of Fire.

The first area where patent documents related to volcanoes are found is that of evolution monitoring/prediction:
CN1952690 concerns a method for sending a sensor deep into the earth, but avoiding the traditional drilling procedure. A helicopter will drop the sensor, which thanks to gravity, will be introduced into the depths of the earth.

The European patent EP0534025B1, of Japanese origin, refers to a method and device for predicting the onset of a volcanic eruption. Based on studies in Japan, which established that the neutron count increases before the beginning of the eruption, a counter of neutrons irradiated from the magma was designed to warn of an impending eruption. US Patent US7383131B1 covers a system for predicting the evolution of ash clouds emitted by a volcano that can affect aircraft. It is worth recalling the disruption to air traffic caused by the eruption of the Icelandic volcano Eyjafjallajökull in 2010. Document KR20150101258 discloses another method for the same purpose.

The document KR20160020086 concerns a method for detecting and monitoring volcanic eruptions and earthquakes by calculating real-time ground deformations from satellite measurements. The application JP2021047065 concerns a monitoring method using radar, in the same way as JP2016161286, which introduces an improvement so that these measurements are not affected by vegetation on the ground.
Another fertile area for patent documents related to volcanic eruptions is that of shelters, such as those disclosed in documents JP2017186773 and JP2016089490.
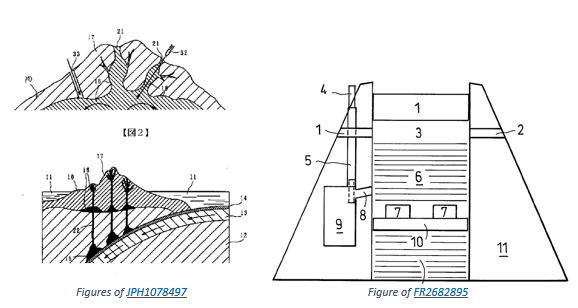
One surprising area in which several patent documents have been found is the use of volcanoes for the disposal of waste of all kinds. The PCT application WO2009079804, of Swiss origin, concerns a method for disposing of radioactive material, e.g. reactor rods, by introducing them into an active volcano. The same is proposed by the US patent US6846967 which, in this case also defines a type of container in which radioactive waste would be included. This method would be used with underwater volcanoes. The document JPH1078497 discloses a method for the disposal of radioactive waste, in which such material is introduced into the magma by means of a rocket through an orifice drilled for that purpose. The document FR2682895 discloses a similar procedure applicable to waste in general, without reference to radioactive waste. In this case, if the volcano were inactive, the upper crust would have to be broken by explosives.

The document JPS51130078 transports the waste to be disposed of from the base of the volcano to the mouth of the volcano by means of a conveyor belt.

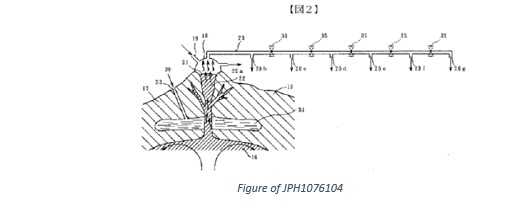
Another field in which volcano-related documents have been found is that of the procurement of metals and other valuable materials from the lava ejected by the volcano. The Russian patent RU2005116129 discloses a method for obtaining from the gases and lava expelled by the volcano, among others, bismuth, germanium, indium, gold, silver, cadmium, and antimony. The invention that is the subject of Japanese document JPH1076104 has the same objective and this method consists of injecting water into the magma of the volcano to generate high-pressure steam that is removed through a pipe and subsequently condensed, achieving the precipitation of the inorganic compounds contained in the magma.

A technological sector in which patent documents with reference to volcanoes are particularly numerous is that of power generation. The document CN106452190 concerns a method for obtaining electrical energy by exploiting the difference in temperature between the lava expelled by a submarine volcano and the seawater. The method disclosed in US3967675 also uses the heat energy of underwater volcanoes to generate electricity. In JP2016070516, electrical energy is obtained from the heat of volcanic magma. Other documents disclosing similar methods are: US2015027721, hu0700416, KR20210082961, JP2003172247, JPH0480553.

The document CN112014151 relates to a vehicle specially configured for lava collection. The Japanese patent JPH09154323 relates to bags containing a ground-rooted plant inside, which are dropped on lava-covered ground to encourage the growth of a vegetation cover, a challenge now facing the island of La Palma once the eruption has ended.

The document KR20160104788 relates to a system for facilitating decision-making in the event of a volcanic disaster. The Chinese patent CN111818786 concerns a protective housing for electronic devices that must operate close to an erupting volcano.
Finally, the field in which volcano-related patent documents are most abundant is that of activities aimed at minimising the damage caused by a volcanic eruption. The Japanese document JP2016084691 refers to a method for preventing the accumulation of magma and volcanic explosions, which consists of injecting water through a pipe that will generate small explosions that will dissipate through other pipes connected to the outside. Similar methods are disclosed in documents CN102767171, GB2362410 and RU2057839.

There are patent documents that try to prevent a volcanic eruption by drilling conduits connecting the magma chamber to the outside to reduce the pressure inside, such as CN103306686 , CA2791827 and RU2231092.

The Japanese document JPH0771020 discloses a method that tries to control the flow of the lava river in order to prevent dangerous avalanches, for example by constructing dams using unmanned bulldozers.

The document JPS62190400 concerns a method that attempts to prevent pressure from building up inside the volcano, which could lead to an explosion. In order to release the pressure, it breaks the crust that usually forms at the top of the volcanic cone by using explosives.

The European patent application EP3858733 discloses a process for removing volcanic dust that hinders air traffic from the atmosphere. An aircraft is positioned above the dust cloud and drops a series of chemicals that neutralise the corrosive vapour present in the cloud and flocculants to precipitate the dust.

These last two patent documents on inventions for combatting the damaging effects of a volcano by means of explosives in the first case and aerial “bombing” in the second are reminiscent of the controversial statements made by the president of the Cabildo of La Gomera a few weeks after the beginning of the eruption: “Isn’t there a plane that flies and can make it fall? It arrives and makes the lava fall, blum! and I guide the lava in one direction. Maybe what I am saying is nonsense. It seems to me that from a technological point of view, it needs to be tested”. Although these statements were widely criticised, these patent documents show that the use of aircraft and explosives to combat the effects of a volcano is not so far-fetched. In fact, this article cites examples of similar strategies used with varying degrees of success in the past to divert lava flows.
Conclusion
Volcanic eruptions belong to the type of natural disasters that are very difficult to predict and combat. This review of patents shows that a number of technologies are available, even if they have not been used frequently. As in so many other technological sectors, research is ongoing and probably in the medium and long term, it will be possible to combat volcanic eruptions with more tools than those available in this recent eruption on Spanish soil.
Leopoldo Belda Soriano
Proofread by Ben Rodway
One thought on “PATENTS AND VOLCANOES”