In a previous blog post dedicated to “sex, morality and patents” I introduced the topic of patents and sex with a reference to the well-known literary work “Eva Luna” by Isabel Allende, where there is an allusion to patents, but on some very peculiar inventions. As the novel narrates the period when Eva Luna was living in a brothel, it is mentioned that the madam (“madame”) was very enterprising and had even invented a series of devices that she was unable to patent due to lack of funding:
“Another woman would have resigned herself to exercising her trade in the conventional way, but la Señora was a woman of imagination. She invented some bizarre devices with which she planned to invade the marketplace, but she could not find anyone willing to finance her. For lack of commercial vision in this country, her ideas _ like so many others _ were grabbed by North Americans, who now hold the patents and sell her models around the globe. The automatic telescoping penis, the battery-operated finger, and the never-fail breast with candy nipple were her creations and if she were paid the just royalty she would be millionaire.”

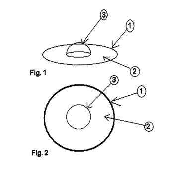
Following that commonplace so often repeated when surprising news are similar to stories that have already been “lived” in literature or film, that the truth is stranger than fiction, in recent years a series of articles and interviews were published in the Uruguayan press about a story that could rival that paragraph from “Eva Luna”. Specifically, we were informed that 86-year-old Naná (Nelly María González), the owner of Uruguay’s best-known brothel in Punta del Este, had patented an invention in the USA that was going to revolutionise sexual practices. In the first interview in 2019, Naná pointed out that her main problem for the commercial launch of her invention was that she had not been granted a visa to travel to the US. The invention is an oral protector for safe anal and clitoral oral sex.

It has not been possible to find a patent in which Naná was listed as the inventor or applicant in the free patent databases available on the internet. However, a patent obtained in the USA in 2012 on the same invention and in which a Uruguayan resident in Punta del Este was listed as the inventor was found. The drawings included in the patent document match those shown in some of the pictures accompanying the interviews with Naná. It is deduced that there must be some connection between this person and Naná, although it is not known what kind of relationship.
The US patent is US8141554B2, granted on 27/03/2012 claiming the Uruguayan priority UY30607A (subsequently abandoned) and with a patent also in Argentina AR068162A .


The second interview with Naná was carried out in January this year (2022), when Naná was about to turn 89 years old. She “only cares about one thing: getting her invention sold outside the country”. It is remarkable that an 89-year-old inventor is still bent on achieving commercial success for her invention, a very clear example of what an inventor is; one who never ceases in their obsession, in their enthusiasm for the success of their invention. Nana has great faith in his device: “Behind the magazine she keeps the US patent, which she caresses with a cockade as if it were a sacred symbol. In that document is the invention: two silicone circles that are worth millions of dollars, according to her”.
At present, Naná is seeking help from the Uruguayan government and is still unable to obtain a visa to visit the United States on a trade mission.
Undoubtedly, it can be said that reality was stranger than fiction; although Naná has not been able to commercialise her invention, at least she could patent it, unlike what happened to the character of “Eva Luna”.
In order to end this brief note, it only remains to hope that Naná can fulfil her dream and I recommend you to read the two interviews published in the newspaper “El País” of Uruguay and conducted by the journalist Mariángel Solomita.
Leopoldo Belda Soriano
Proofread by Ben Rodway
One thought on “A PATENT STORY WHERE THE TRUTH IS STRANGER THAN FICTION”