El año 2021, segundo año pandémico, también será recordado en España por la erupción volcánica de Cumbre Vieja en la isla canaria de La Palma, que con 85 días fue la de mayor duración en la historia de la isla desde que se dispone de registros.

En este artículo se va a realizar un recorrido sobre las patentes que de un modo u otro están relacionados con los volcanes. Parece conveniente comenzar con un documento de patente que hace referencia directa a la isla de La Palma. Se trata del documento GB2409874, que ya en 2006 en el Nº27 de la revista MARCHAMOs protagonizó la sección “patentes curiosas”. Esta patente tiene como título “A solution to the pending La Palma land-slide induced mega-tsunami” (una solución al previsto mega-tsunami causado por una avalancha de tierras en La Palma). Precisamente poco después del inicio de la erupción de La Palma se recordó este asunto, que periódicamente ha aparecido en los medios de comunicación. Esta teoría se basa en que el desplome de una ladera de grandes dimensiones del volcán de Cumbre Vieja sobre el océano Atlántico produciría un tsunami de grandes dimensiones que arrasaría las islas Canarias, la costa de Marruecos y el sur de la Península Ibérica llegando a la costa este de Norteamérica. Afortunadamente, el desastre no se produjo, aunque parece que podría ocurrir en el futuro lejano si se reunieran una serie de circunstancias geológicas desfavorables.
En la patente GB2409874 se propone drenar las aguas subterráneas que se encuentran en el lado oeste de la isla y cubrir las laderas de ese lado de la isla cercano al volcán mediante una malla fabricada en plástico.

Se ha efectuado una búsqueda en la base de datos de patentes de acceso gratuito Espacenet desarrollada por la Oficina Europea de Patentes de documentos de patente relacionados con la vulcanología y se han detectado una serie de sectores en los que se pueden encontrar invenciones relacionadas con este fenómeno geológico.

Como se irá viendo a lo largo del artículo, predominan entre las patentes relacionadas con los volcanes aquellas procedentes de países del extremo oriente (Japón, China y Corea), probablemente porque este fenómeno ha sido tradicionalmente más frecuente en esas latitudes, en el conocido como anillo de fuego del Pacífico.

La primera área donde se encuentran documentos de patente relacionados con los volcanes es la de monitorización/predicción de la evolución del volcán.
El documento CN1952690 se refiere a un método para enviar un sensor a las profundidades de la tierra, pero evitando el tradicional procedimiento de la perforación. Un helicóptero dejará caer el sensor que gracias a la gravedad se introducirá en las profundidades de la tierra.

La patente europea EP0534025B1, de origen japonés, tiene por objeto un método y un dispositivo para predecir el comienzo de una erupción volcánica. Basándose en estudios realizados en Japón en los cuales se estableció que la cuenta de neutrones aumentaba en los momentos previos a la entrada en erupción de un volcán, se diseñó un contador de neutrones irradiados desde el magma que avisa de una erupción inminente. La patente estadounidense US7383131B1 tiene por objeto un sistema para predecir la evolución de las nubes de cenizas que emitidas por un volcán pueden afectar a las aeronaves. Conviene recordar la disrupción que en el tráfico aéreo produjo la erupción del volcán islandés Eyjafjallajökull en 2010. El documento KR20150101258 divulga otro método con el mismo propósito.

El documento KR20160020086 se refiere a un método para detectar y monitorizar erupciones volcánicas y terremotos calculando en tiempo real las deformaciones del terreno a partir de mediciones satelitales. La solicitud JP2021047065 tiene por objeto un método de monitorización que emplea un radar, del mismo modo que el documento JP2016161286, que introduce un perfeccionamiento para que esas mediciones no se vean afectadas por la vegetación existente sobre el terreno.
Otra área fértil para los documentos de patentes relacionados con las erupciones volcánicas es la de los refugios, como por ejemplo los divulgados en los documentos JP2017186773 y JP2016089490.
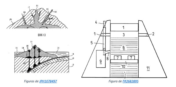
Un área sorprendente en el que se han encontrado varios documentos de patente es el de la utilización de los volcanes para deshacerse de residuos de todo tipo. La solicitud PCT WO2009079804, de origen suizo, tiene por objeto un método destinado a eliminar material radioactivo, por ejemplo, barras de un reactor, mediante su introducción en un volcán activo. Lo mismo propone la patente estadounidense concedida US6846967, que en este caso también define un tipo de envase en el que se incluirían los desechos radioactivos y que se utilizaría con volcanes submarinos. El documento JPH1078497 divulga un método para deshacerse de residuos radioactivos, en el que dicho material se introduce en el seno del magma mediante un cohete a través de un orificio perforado con ese objetivo. El documento FR2682895 divulga un procedimiento similar de aplicación a residuos en general, sin referencia a los radioactivos. En este caso, si el volcán estuviera inactivo habría que romper la corteza superior mediante explosivos.

El documento JPS51130078 transporta los residuos a eliminar desde la base del volcán a la boca del mismo mediante una cinta transportadora.

Otro campo en el que se han encontrado documentos es el de la obtención de metales y otros materiales cotizados a partir de la lava expulsada por el volcán. La patente rusa RU2005116129 divulga un método para la obtención a partir de los gases y la lava expulsada por el volcán, entre otros de bismuto, germanio, indio, oro, plata, cadmio, y antimonio. La invención objeto del documento japonés JPH1076104 tiene el mismo objetivo y este método consiste en inyectar agua en el magma del volcán para generar vapor a alta presión que se extrae mediante una tubería y posteriormente se condensa, logrando la precipitación de los compuestos inorgánicos contenidos en el magma.

Un sector tecnológico en el que los documentos de patente con referencia a los volcanes son especialmente numerosos es el de la generación de energía. El documento CN106452190 tiene por objeto un método que permitiría la obtención de energía eléctrica mediante el aprovechamiento de la diferencia de temperatura entre la lava expulsada por un volcán submarino y el agua marina. También el método divulgado en el documento US3967675 utiliza la energía calorífica de los volcanes submarinos para generar electricidad. En JP2016070516 Se produce energía eléctrica a partir del calor del magma volcánico. Otros documentos que divulgan métodos similares son los siguientes: US2015027721, hu0700416, KR20210082961, JP2003172247, JPH0480553.

El documento CN112014151 tiene por objeto un vehículo especialmente configurado para la recogida de lava. La patente japonesa JPH09154323 se refiere a unas bolsas que contienen en su interior una planta enraizada en tierra y que se lanzan sobre el terreno cubierto con lava, con el fin de fomentar el crecimiento de una cubierta vegetal, un reto al que se enfrenta ahora la isla de La Palma una vez que ha finalizado la erupción.

| El documento KR20160104788 tiene por objeto un sistema para facilitar la toma de decisiones en el caso de que se produjera un desastre de origen volcánico. La patente china CN111818786 se refiere a una carcasa de protección para dispositivos electrónicos que deben funcionar en las proximidades de un volcán en erupción. |
Finalmente, el campo en el que más abundantes son los documentos de patentes es aquel de las actividades destinadas a minimizar los daños provocados por una erupción volcánica. El documento japonés JP2016084691 se refiere aun método para evitar la acumulación de magma y de explosiones volcánicas, que consiste en la inyección a través de una tubería de agua que generará pequeñas explosiones que se disiparán a través de otras tuberías comunicadas con el exterior. Los documentos CN102767171, GB2362410 y RU2057839 divulgan métodos similares.

Hay documentos de patente en los que se trata de evitar una erupción volcánica mediante la perforación de conductos que conectan la cámara magmática con el exterior para reducir la presión en el interior como CN103306686 , CA2791827 y RU2231092.

El documento japonés JPH0771020 divulga un método que trata de controlar el flujo del río de lava, con el fin de evitar las peligrosas avalanchas, construyendo por ejemplo una especie de presas mediante bulldozers no tripulados.

El documento JPS62190400 tiene por objeto un método que trata de evitar que se acumule presión en el seno del volcán, que podría dar lugar a una explosión. Para liberar la presión, rompe la costra que se forma en la parte superior del cono volcánico mediante la utilización de explosivos

La solicitud de patente europea EP3858733 divulga un procedimiento para eliminar el polvo volcánico presente en la atmósfera que dificulta el tráfico aéreo. Un avión se ubica sobre la nube de polvo y arroja sobre ella una serie de sustancias químicas que neutralizan el vapor corrosivo presente en la nube y también floculantes para la precipitación del polvo.

Estas dos últimas solicitudes en las que se trata de combatir los efectos perjudiciales de un volcán mediante explosivos en el primer caso y mediante “bombardeos” aéreos en el segundo hacen recordar a las polémicas declaraciones realizadas por el presidente del Cabildo de La Gomera: “¿No hay un avión que vuela y que pueda hacer caer? Llegar y hacer caer ¡blum! y yo, oriento la lava en una dirección. Igual lo que yo digo es un disparate. A mí me da la impresión que desde el punto de vista tecnológico hay que probarlo”. Aunque estas declaraciones fueron muy criticadas, estos documentos de patente demuestran que no es tan descabellado la utilización de aviones y explosivos para combatir los efectos de un volcán. De hecho, en este artículo se citan ejemplos de diversas estrategias similares empleadas con distinto grado de éxito en el pasado para desviar ríos de lava.
Conclusión
Las erupciones volcánicas pertenecen a ese tipo de desastres naturales de muy difícil predicción y combate. El repaso de patentes efectuado muestra que hay diversas tecnologías disponibles, aunque no se hayan utilizado con frecuencia. Como en tantos otros sectores tecnológicos, la investigación es continua y probablemente a medio y largo plazo, será posible combatir las erupciones volcánicas con mayores herramientas de las que se ha dispuesto en esta reciente erupción en suelo español.
Leopoldo Belda Soriano
One thought on “PATENTES Y VOLCANES”