Unfortunately, patent professionals are bound to meet many people who are completely unaware of what a patent is. It is also usual to hear vague, erroneous notions about patents and the issue of their secrecy usually arises. Nevertheless, transparency is one of the main features of the patent system, since all patent applications must be published during the granting procedure, usually at 18 months from the filing date. What’s more, it is common to use trade secrets as an example of what patents are not. Most patent agents will use the case of the Coca-Cola formula; if you can keep something secret, do not patent it.
Likewise, if there is another field where one could think that patents should be scarce is that of magic. However, it is possible to find a large number of magic-related inventions, which have been patented. There is actually a subgroup devoted to those inventions in the IPC (International Patent Classification) and in the CPC (Cooperation Patent Classification): A63J21/00, where more than 600 patent families are classified.

If the subject matter of a patent in this field is a procedure, it will be difficult to enforce it and if it is a device or product, the exclusive rights will only last 20 years from the filing date. Nevertheless, some renowned magicians patented their invention, so one might think that the patent system somehow enchanted them.
Undoubtedly, Houdini went down in history as one of the most popular magicians of all time. He also patented some of his magic tricks and devices:

patent GB190819546
In this patent GB190819546, Houdini protected and thus disclosed a recipient in which a bound performer is submerged. The performer, once the lid is secured by padlocks and elastic straps, proceeds to escape. The cavity in which the performer is submerged connects with a surrounding compartment void of water. Once the lid is closed, the performer opens a door K transferring some water to that compartment, providing an upper part where there is air to breathe. Lack of liquid facilitates as well all manipulations needed for untying.

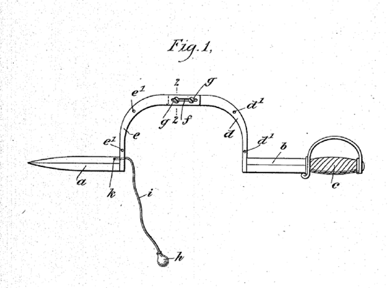
Houdini’s most popular patent is US1370316A on a “diving suit” arranged to allow the diver to free himself of the suit while being submerged and to safely escape and reach the surface of the water. The diving suit was to be used in some of Houdini’s escapism shows.

Figures from US1370316A
Despite these two patents, it seems that he was aware of the drawbacks of patenting magic tricks and “to protect his illusions, he largely avoided the patent process, kept secrets, copyrighted his tricks and otherwise concealed his inventive nature”.
By analysing patent documents classified in the IPC group A63J21/00 it is possible to see he evolution of magic over the last 150 years, from pure mechanical devices to new tricks were apps and smartphones play an important role. Here you can see a selection:

Gymnastic suit which remains attached to the apparatus when the actor falls down, thus simulating his disappearance DE82222

Magic device to demonstrate the apparent dismemberment of a person lying in a container DE431423C

Method and apparatus for creating the illusion of levitation FR363820

Apparatus for producing the illusion of severing from the trunk of the human body several appendages US421493

Trick sword (US421493)

Apparatus for creating the illusion of somebody breathing underwater (US1310707)

Trick device for performances with animals (US1486305)
Inventions aimed at creating optical illusions abound, especially those related to the so-called “Pepper’s ghost”, which simulates the appearance and disappearance of actors on the stage. This engraving clearly explains how the Pepper’s ghost works:

Source: Le Monde illustré-1862-wikipedia
The key for a proper functioning is that the “beam splitter”, the flat sheet of glass, is kept invisible to the audience. Here you have some “Pepper’s ghost”- related patented inventions.

If this post began with the biggest magician of all time, it finishes with one of the best wizards of our time: David Copperfield, renowned for his levitation shows. He appears as the inventor in a patent family US9017177, whose subject matter is a system that makes it possible for everybody to have a picture levitating.

The family patent US5354238 protects one of the most popular magic tricks, performed by David Copperfield on numerous occasions. The magicians seems to be flying over the stage where several members of the audience stay. The levitation apparatus consists in a harness, which is concealed beneath the performer’s clothing and is interconnected through support arrays and wires with an overhead operating system that controllably raises, lowers and turns the performer. Support arrays are always maintained in a plane perpendicular to the direction of sight of the viewing audience, remaining essentially invisible.

Sometimes, it is difficult to establish a clear border between magic and “special effects”, and talking about celebrities; it is worth noting that Michael Jackson appeared as the inventor in one patent (US5255452) on a visual effect he used to employ when performing. It was a system for allowing a shoe wearer to lean forwardly beyond his centre of gravity.
Conclusions
Although this entry provides abundant examples of patented magic tricks and magical devices, they are no longer so common. It is true that they were not rare in the past, maybe because patentees were not aware of the mandatory publication of all patent applications. Therefore, it is still appropriate to put forward magic as a sector where inventions should be kept secret if possible, rather than patented. Anyway, I conclude by hoping that I have provided you with enough examples of inventions that it would be better not to patent.
My thanks and appreciation to Pablo Paz for providing some of the patents and for suggesting this entry.
Leopoldo Belda Soriano
Abridged versión in Spanish /Versión resumida en español (publicada en 2014 en el blog de la OEPM)

8 thoughts on “MAGICAL PATENTS (When magic is patented)”