This new post can be regarded as a “continuation in part” of the one that dealt with the C.I.A and patents. It also combines patents and espionage. However, this “dark” side can be considered a secondary element in this case. It is the musical instrument “Theremin” that plays the leading role. It is an electronic musical instrument that can be played without physical contact: the thereminist (theremin player) stands in front of the instrument and moves his or her hands in the proximity of two metal antennas. The distance from one antenna determines frequency (pitch), and the distance from the other controls amplitude (volume). Higher notes are played by moving the hand closer to the pitch antenna. Louder notes are played by moving the hand away from the volume antenna.

Here, you have a scheme that shows how it works:

Its inventor was Lev Sergeyevich Termen (1896-1993). He was born in Saint Petersburg and was a gifted student of electronics. When he was still at school, he already had his own electrical laboratory at home. In 1920, while trying to invent the first motion detector, he ended up designing a device that could generate an audio tone when he noticed that the pitch changed when his hand moved around. He had invented the Theremin, initially known as the Termenvox in Russia.
It seems that he was sent abroad, first to Germany and then to the USA, to sell his inventions in order to obtain funds and technical knowledge for the Soviet Union. That is why he patented his two inventions at the time: the Theremin and a “radio watchman”, a kind of alarm, a motion sensor. This technology was used to develop an alarm system that was implemented in some US prisons. There, he turned his Russian name into a more Western one, Leon Theremin.
His most valuable invention, the Theremin was patented in several countries: USA (US1661058), Germany (DE567233C) and Spain (ES115848), (ES115422) among others.

The alarm, “radio watchman” or “signaling apparatus” was patented in the USA (US1658953), and Germany (DE540745C).

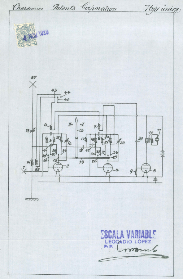
It has been possible to gain access to the original Spanish patent files, available in the Historical Archive of the SPTO. the “Theremin” was protected in Spain by the patent ES115422 with the title “Disposición para la emisión o recepción de alta frecuencia y para reproducir sonidos”. The applicant was the US company “Theremin Patents Corporation”. A “first action” was submitted to the applicant because the inventor had not been named. Eventually the name is provided by the patent agent. The spelling of the name is peculiar and his nationality is said to be Swiss:

In order to justify that the invention was being exploited and to prevent the patent from lapsing due to lack of exploitation, a certificate is submitted by the agent where it is stated that the invention was being manufactured in Valencia by D. Emilio Carretero, who had obtained a license from Hermann M. Rahmer, Director of the laboratory authorised for the manufacture of the instrument in Europe. Mr. Hermann M. Rahmer appears as the technical director of a Theremin Concert in a German journal from Estonia. Several “theremins” are said to be played in the concert with works by Rubinstein, Chopin, Grieg and Verdi. The concert is advertised as “the greatest musical wonder of our time”:



The patent ES115848 is not a real patent but a strange figure that existed in Spain at the time (Patente de introducción – Introduction Patent) and that allowed for the granting of patents on inventions not exploited in Spain though already known abroad. The holder of these patents could not prevent the subject from being imported. It was mentioned that the device was already patented in France (FR612433) and Germany (DE443536). In these two patents the applicant is the German company M.J. Goldberg & Soehne and there is no reference to the inventor. It is worth noting that the introduction patent application filed in Spain had Theremin Patents as the applicant.

In both patents the industrial property agent is Leocadio López who worked for “Roeb & cia”, the company where Arturo Barea (see a previous entry) was employed. Interestingly, Arturo Barea might have worked on these two patents.
If you are not acquainted with the patent world, you might be surprised to see that music instruments can be patented. Actually, inventions in all technological fields are indeed patented as the International Patent classification (IPC) shows, where there is a symbol G10H5/08 specifically devoted to this kind of electronic musical instruments, where 93 patent documents from all over the world are classified:

In this webpage, devoted to an exhibition on Leon Theremin and his inventions that took place in Madrid in 2017, he can be seen playing his most popular invention:
In 1938, Leon married an American woman after divorcing his first Russian wife, and was enjoying the pleasures of bourgeoise life, when he was kidnapped by Soviet Agents and taken back to the Soviet Union, kept captive in a concentration camp and forced to work for the Soviet Secret Services in the development of espionage devices. He was not the only inventor forced to work in a secret laboratory for the Russian Intelligence. Other renowned inventors were Tupolev and Korolev. Here is where This entry is linked to the one about “the C.I.A” and patents. At that post I referred to a document where it was disclosed that the C.I.A Communications Department wanted to get hold of a device on which two patent applications had been filed. Although not many details are provided, one might speculate that it was something similar to a device invented by Leon Theremin, known as “the thing”. His technological knowledge that had led to the invention of the Theremin also helped him designed a spying device that was cutting-edge at the time. He is also said to have designed an infrared microphone called Buran.
“The thing” consisted mainly of a passive resonant cavity device, that was made up of an antenna and a small cylinder. One side of the cylinder was solid, the other side consisted of a very thin diaphragm. The functioning was quite simple: The Soviet agents would be inside a van outside the US embassy. They would aim a radio transmitter at the thing. Those sound waves would be received by the resonant cavity inside the cylinder causing the diaphragm to move, forming a condenser microphone, that emitted at a frequency multiple of the exciting one, that was received by the agents outside the embassy. That kind of microphone had been disclosed in a patent published in 1941 US2238117, whose applicant was the RCA: the same company that had manufactured the Theremin. Since Theremin had worked in the USA in the 30’s, he might have been aware of the patent, which would be another example of patents whose disclosure is not beneficial for society.

The obvious question is: How did that emitting microphone get into the US embassy? The method was as smart as the device itself. Once the Second World War was over, a group of schoolchildren presented the US ambassador with a gift to celebrate the end of the war. The gift was a carved wooden plaque of the great seal of the USA inside which “the thing” had been properly hidden. The plaque would be be hung on the walls of the ambassador room, and it was not discovered until 1952. It was found by pure chance; a radio operator of the British embassy overheard American voices on an open radio channel, and that led to the identification of the emitting device. Once discovered, it was kept secret by the Americans until 1960, when it was revealed during the meetings of the United Nations Security Council that were convened to study the case of the American U2 spy plane that had been shot down when flying over the Soviet Union. The thing was shown as evidence of the Soviet attempts to spy on them.

Leon Theremin was released in 1947. Afterwards he kept on working for the KGB until 1966 when he started a new career as teacher at the Moscow Conservatory and later as a physics professor. During this last period, he did some research.
Finally, I would like to invite you to listen to this interpretation of “Once upon a time in the West” where the Theremin is played by Katica Illény, so that you can enjoy the eery beauty of this instrument.
Leopoldo Belda-Soriano
Proofread by Ben Rodway